Qingdao Ruichen Sealing Technology Co., Ltd.
Qingdao Ruichen Sealing Technology Co., Ltd.
Výrobky
X

Olejové tesnenia TC

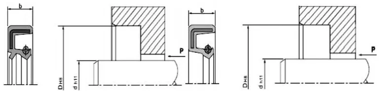
Otočné tesnenia hriadeľa, bežne známe ako olejové tesnenia, sú inštalované v puzdre ložiska a pohybujú sa vzhľadom na rotujúci hriadeľ. Kovová kostra poskytuje podporu a pružina aplikuje radiálne predpätie na tesniaci okraj, aby sa zabránilo úniku maziva a vniknutiu vonkajších nečistôt.

Inštalačná štruktúra a požiadavky

1. Materiál hriadeľa: Bežne používané sú uhlíková oceľ a nehrdzavejúca oceľ. Pre vysoké rýchlosti sa na povrch nanáša chrómovanie, HRC40-45.

2. Dizajn rotujúceho hriadeľa a drážok: Povrch hriadeľa by mal byť hladký a bez otrepov. Špirálové značky po obrábaní môžu vytvárať efekt čerpania, čo vedie k úniku. Odporúča sa, aby bola oblasť montáže olejového tesnenia zbrúsená na drsnosť povrchu Ra0,1-0,5µm, ktorá bude hladšia so zvyšujúcou sa rýchlosťou. Pre uľahčenie inštalácie a demontáže musia byť hriadeľ a drážky navrhnuté so skosením alebo zaoblenými hranami Pozri obrázky 1 a 2.

Výška tesnenia

b

b1(0,85xb)

mm

b2(b+0,3)

mm

r

max.

7

5.95

7.3

0.5

8

6.80

8.3

0.5

10

8.50

10.3

0.5

12

10.30

12.3

0.7

15

12.75

15.3

0.7

20

17.00

20.3

0.7

Obrázok 1. Návrh skosenia drážky


d

d3

R

<10

d-1,5

2

10-20

d-2,0

2

20-30

d-2,5

3

30-40

d-3,0

3

40-50

d-3,5

4

50-70

d-4,0

4

70-95

d-4,5

5

95~130

d-5,5

6

130-240

d-7,0

8

240 ~ 500

d-11,0

12

500 až 800

d-14,0

14

800-1250

d-18,0

16

Obrázok 2 Konštrukcia skosenia otočného hriadeľa


Faktory ovplyvňujúce výkon okrajových tesnení hriadeľa 

Existujú desiatky faktorov, ktoré ovplyvňujú tesniaci účinok. Okrem samotného olejového tesnenia, ako je jeho materiál a štruktúra, tesniaci účinok priamo ovplyvňujú aj ďalšie faktory, ako je médium, teplota, tlak, mazanie, rýchlosť a drsnosť povrchu a tieto faktory sa často navzájom ovplyvňujú. Nasledujúce grafy sú len pre používateľov.

Obrázok 3. Vplyv teploty na olejové tesnenie


Inštalácia: Starostlivá inštalácia je predpokladom pre správne fungovanie olejových tesnení.

Schéma inštalácie (inštalácia do dutín)

Správny spôsob inštalácie

Použiteľné pracovné podmienky

Nesprávny spôsob inštalácie

Táto metóda je použiteľná len vtedy, keď je čelná plocha olejového tesnenia a čelná plocha dutiny zarovnaná. Keď lisovacie zariadenie pracuje rýchlo, olejové tesnenie musí byť správne umiestnené; inak môže dôjsť k nesprávnemu zarovnaniu.

 

Táto konštrukcia je vhodná pre situácie, keď je čelná plocha olejového tesnenia nižšia ako čelná plocha dutiny. Aj pri rýchlom lisovaní môže byť olejové tesnenie stále dobre umiestnené. Tomuto typu prípravku však chýba radiálne polohovanie, preto axiálna kolmosť plochej dosky lisovacieho zariadenia a prítlačného hriadeľa musí dosahovať určitú presnosť.

Táto metóda je vhodná pre situácie, keď je čelná plocha olejového tesnenia nižšia ako čelná plocha dutiny. Pri rýchlom zatlačení zariadenia je dôležité zabezpečiť správne umiestnenie olejového tesnenia; inak môže dôjsť k nesprávnemu zarovnaniu.


 

 


Táto metóda je vhodná len pre údržbu alebo podmienky jednoduchej inštalácie, kde nie je k dispozícii tlakové zariadenie. Pretože počas inštalácie nie je možné dosiahnuť absolútne rovnomerné lisovanie, sú nevyhnutné rôzne problémy s montážou. Primárne je navrhnutý tak, aby zabránil radiálnemu nesúososti počas inštalácie, čo by mohlo zdeformovať tesniace krúžky, alebo aby sa zabránilo poškodeniu gumy protiľahlej časti gufera (vonkajšieho kruhu) v dôsledku prestávok počas inštalácie. Preto sa tento spôsob inštalácie vo všeobecnosti neodporúča.

 

Olejové tesnenia TC/SC/TB/SB

Oba pozostávajú z kovového rámu, pružiny a gumeného tela. Kovový rám poskytuje oporu a pružina pôsobí radiálnou silou na tesniaci okraj. Modely TC aj TB majú prachotesný pomocný okraj, vhodný pre aplikácie, kde jedna strana obsahuje tesniace médium a druhá strana prach. Modely TB/SB majú kovový vonkajší kruh, vďaka čomu je olejové tesnenie v dutine bezpečnejšie a presnejšie. Avšak tesniaca schopnosť vonkajšieho kruhu je obmedzená pre nízkoviskózne a plynné médiá; preto sa počas inštalácie a používania odporúča aplikovať tmel na vonkajší kruh.

Tvar prierezu

Model

Aplikácia

Tlak

Teplota

Rýchlosť

Stredná

Materiál

TC

Tesniace, prachotesné

0,03 MPa

-30~+160

20 m/s

Mazací olej a mazivo

NBR/FKM + uhlíková oceľ

SC

Utesnenie

TBC

Tesniace, prachotesné

-30~+100

25 m/s

Voda, mazací olej, tuk

NBR + uhlíková oceľ

SB

Utesnenie

Objednať model TC-d*D*b

Špecifikácia

Špecifikácia

Špecifikácia

Špecifikácia

Špecifikácia

Špecifikácia

Špecifikácia

TC-6*17*3,5

TC-9*25*7

TC-10*30*7

TC-12*25*10

TC-13*25*7

TC-14*32*8

TC-15*30*7

TC-7*18*7

TC-10*18*7

TC-11*22*7

TC-12*26*7

TC-13*26*7

TC-14*32*10

TC-15*30*8

TC-8*18*7

TC-10*19*7

TC-I1*25*7

TC-12*28*7

TC-13*28*7

TC-14*35*7

TC-15*30*10

TC-8*20*7

TC-10*20*5

TC-11*30*10

TC-12*28*8

TC-13*30*8

TC-14*35*8

TC-15*32*7

TC-8*22*7

TC-10*20*7

TC-12*19*3

TC-12*30*7

TC-14*24*7

TC-14*40*7

TC-15*32*10

TC-8*22*8

TC-10*22*5

TC-12*20*7

TC-12*30*10

TC-14*25*7

TC-15*22*8

TC-15*35*7

TC-8*25*7

TC-10*22*7

TC-12*21*7

TC-12*32*7

TC-14*26*7

TC-15*24*7

TC-15*35*8

TC-8*25*8

TC-10*22*8

TC-12*22*5

TC-12*32*10

TC-14*27*7

TC-15*25*5

TC-15*35*10

TC-8*30*7

TC-10*22*10

TC-12*22,5*5,5

TC-12*35*7

TC-14*28*7

TC-15*25*7

TC-15*38*7

TC-9*16*5

TC-10*24*7

TC-12*22*7

TC-12*35*10

TC-14*28*8

TC-15*25*8

TC-15*38*8

TC-9*18*7

TC-10*25*5

TC-12*22*8

TC-12,7*22,22*5

TC-14*28*10

TC-15*26*7

TC-15*38*10

TC-9*19*7

TC-10*25*7

TC-12*24*6

TC-12,7*25,4*7

TC-14*29*7

TC-15*27*7

TC-15*40*8

TC-9*20*7

TC-10*25*10

TC-12*24*7

TC-12,7*26*8

TC-14*30*7

TC-15*27*8

TC-15*40*10

TC-9*22*7

TC-10*26*7

TC-12*25*7

TC-12,7*30*8

TC-14*30*10

TC-15*28*7

TC-15*42*7

TC-9*24*7

TC-10*28*7

TC-12*25*8

TC-13*23*7

TC-14*32*7

TC-15*28*10

TC-15*42*8

 




Hot Tags: Olejové tesnenia TC
Odoslať dopyt
Kontaktné informácie
Získajte konkurenčné ceny, technickú podporu a rýchle reakcie. Pošlite svoje špecifikácie do Ruichenu pre riešenia tesnenia na mieru. K dispozícii sú vzorky zadarmo.
X
Súbory cookie používame, aby sme vám poskytli lepší zážitok z prehliadania, analyzovali návštevnosť stránok a prispôsobili obsah. Používaním tejto stránky súhlasíte s naším používaním cookies. Zásady ochrany osobných údajov
Odmietnuť Prijať