Qingdao Ruichen Sealing Technology Co., Ltd.
Qingdao Ruichen Sealing Technology Co., Ltd.
Novinky

Kombinácia koláča RC2051-B/g pre otáčanie hriadeľa

2025-03-08 0 Nechajte mi správu

Toto tesnenie sa skladá z tesniaceho krúžku naplneného s ozubenými tesniacimi prstencamiMateriál PTFEaO-krúžok gumový prsteň, vhodný na jednosmerné utesnenie hydraulického a pneumatického recipročného a rotačného pohybu. Má charakteristiky vysokej životnosti, nízkeho trenia, dobrého tesnenia, malého štrukturálneho priestoru a môže sa použiť na tlaku vody. Je rozdelený na RC2051-B (štandardný typ) a RC2051-G (vysokorýchlostný typ). Špeciálny dizajn pier RC2051 má dobrý tesniaci účinok a extrémne nízky odpor trenia aj pre pneumatické recipročné aleborotačné tesnenia.

Výber materiálu

1. Zodpovedajúci materiál O-krúžku je možné zvoliť: R01 Nitril Gumber (NBR), R02 Fluororubber (FKM) atď.

2. Materiál tesnenia: Štandardný materiál PTFE4, Ostatné voliteľné materiály PTFE1, PTFE2, PTFE3, PTFE5.


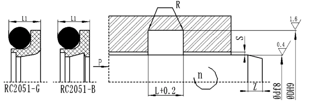
Štrukturálny diagram



Súvisiace správy
Nechajte mi správu
X
Súbory cookie používame, aby sme vám poskytli lepší zážitok z prehliadania, analyzovali návštevnosť stránok a prispôsobili obsah. Používaním tejto stránky súhlasíte s naším používaním cookies. Zásady ochrany osobných údajov
Odmietnuť Prijať