Qingdao Ruichen Sealing Technology Co., Ltd.
Qingdao Ruichen Sealing Technology Co., Ltd.
Výrobky
X

Stierací krúžok

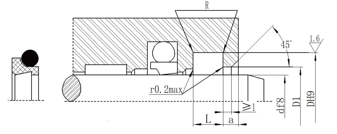
Prachové tesnenie s dvojitým okrajom, ktoré uviedla na trh spoločnosť Ruichen Seal (známy výrobca a dodávateľ tesnení piestnej tyče v Číne), sa skladá z naplneného tesniaceho krúžku z PTFE a O-krúžku. Má obojsmernú ochranu proti prachu a funkcie automatickej kompenzácie opotrebenia, nízke trenie, dlhú životnosť a silnú prispôsobivosť a je široko používaný v rôznych scenároch priemyselného pohybu, ako je vratný pohyb, kývanie a špirála.

Výkon a aplikácie

Kombinované stieracie tesnenie s dvojitým perom je obojsmerné stieracie tesnenie pozostávajúce z PTFE naplneného dvojitého stieracieho krúžku a O-krúžku. O-krúžok poskytuje predpätie, kompenzujúce opotrebovanie PTFE krúžku. Je vhodný pre vratné, oscilačné alebo špirálové pohyby.


Prevádzkové podmienky

Tlak Mpa

Teplota °C

Rýchlosť m/s

Stredná

-

-35~+100 (zodpovedajúci O-krúžku NBR)

6

Hydraulický olej, emulzia, voda atď.

-20~+200 (zodpovedajúci O-krúžok FKM)


Príklad objednávky

Objednajte si model RCF02-80-PTFE3-R01

RCF02 - Model 80 - Priemer hriadeľa PTFE3 - Univerzálny modifikovaný PTFE RO1 - Kód materiálu zodpovedajúcej gumy

Nitril (NBR) - R01, Fluorocarbon (FKM) - RO2

Tabuľka parametrov špecifikácie (možno poskytnúť produkty akejkoľvek veľkosti v rámci rozsahu parametrov)

Rozsah priemeru hriadeľa d f8

Priemer drážky D H9

Šírka drážky L+0.2

Priemer otvoreného otvoru

D1H11

Šírka otvoreného otvoru a≥

Zaoblené rohy R≤

Priemer drôtu O-krúžku

d0

4~11

d+4,8

3.7

d+1,5

2

0.4

1.80

12~64

d+6,8

5.0

d+1,5

2

0.7

2.65

65~250

d+8,8

6.0

d+1,5

3

1.0

3.55

251~420

d+12,2

8.4

d+2,0

4

1.5

5.30

421~650

d+16,0

11.0

d+2,0

4

1.5

7.00

651~1500

d+20,0

14.0

d+2,5

5

2.0

8.60


Hot Tags: Stierací krúžok
Odoslať dopyt
Kontaktné informácie
Získajte konkurenčné ceny, technickú podporu a rýchle reakcie. Pošlite svoje špecifikácie do Ruichenu pre riešenia tesnenia na mieru. K dispozícii sú vzorky zadarmo.
X
Súbory cookie používame, aby sme vám poskytli lepší zážitok z prehliadania, analyzovali návštevnosť stránok a prispôsobili obsah. Používaním tejto stránky súhlasíte s naším používaním cookies. Zásady ochrany osobných údajov
Odmietnuť Prijať