Qingdao Ruichen Sealing Technology Co., Ltd.
Qingdao Ruichen Sealing Technology Co., Ltd.
Výrobky
X

Tesnenie stierača GP6

Ako popredný výrobca a dodávateľ tesnení piestnych tyčí v Číne je prachový krúžok GP6 spoločnosti Ruichen Seals navrhnutý špeciálne pre piestne tyče s veľkým priemerom. Vyrobené z nitrilovej gumy (NBR) (fluorokaučuk (FKM) je voliteľný pre vysokoteplotné podmienky), účinne blokuje vniknutie znečisťujúcich látok, má vynikajúcu odolnosť proti opotrebovaniu a prispôsobivosť voči životnému prostrediu a výrazne zlepšuje spoľahlivosť a životnosť tesnení hydraulického systému.

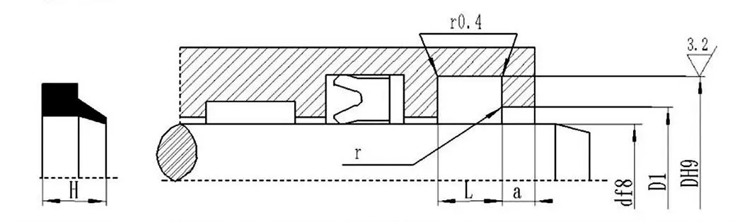
Stierače GP6 sa používajú na zabránenie vniknutiu nečistôt do hydraulických a tesniacich systémov. Vyrobené z NBR (nitrilkaučuku) alebo FKM (fluórovaná guma) pre vysokoteplotné aplikácie, používajú sa predovšetkým na prachové tesnenie piestnych tyčí s veľkým priemerom.


Tlak Mpa

Teplota °C

Rýchlosť m/s

Stredná

-

-35~+100 (NBR)

1

Hydraulický olej, emulzia, voda atď.

-20~+200 (FKM)


Spôsob značenia GP6-70*80,6*5,3/7 Model-d*D*L/H



Hot Tags: Tesnenie stierača GP6
Odoslať dopyt
Kontaktné informácie
Získajte konkurenčné ceny, technickú podporu a rýchle reakcie. Pošlite svoje špecifikácie do Ruichenu pre riešenia tesnenia na mieru. K dispozícii sú vzorky zadarmo.
X
Súbory cookie používame, aby sme vám poskytli lepší zážitok z prehliadania, analyzovali návštevnosť stránok a prispôsobili obsah. Používaním tejto stránky súhlasíte s naším používaním cookies. Zásady ochrany osobných údajov
Odmietnuť Prijať