Qingdao Ruichen Sealing Technology Co., Ltd.
Qingdao Ruichen Sealing Technology Co., Ltd.
Výrobky
X

SPGO tam

Ak hľadáte tesnenia SPGO pre vysokorýchlostné hydraulické a pneumatické aplikácie, vyberte si ako dodávateľa tesnenie Ruichen. Používame kombináciu modifikovaných PTFE tesnení a O-krúžkov. Naše produkty ponúkajú vynikajúce tesnenie, ultra nízke trenie a kompaktný dizajn, vďaka čomu sú obzvlášť vhodné pre vysokorýchlostné hydraulické a pneumatické valce.

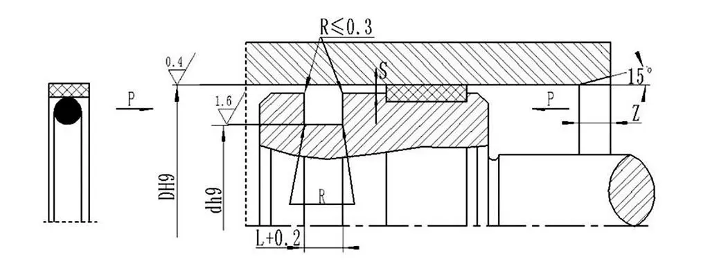
Tesnenie SPGO je kombináciou pravouhlého modifikovaného PTFE tesniaceho krúžku a O-krúžku ako prvku predpätia. Ponúka vynikajúce utesnenie, nízke trenie a kompaktnú stopu. Je vhodný pre vysokorýchlostné hydraulické alebo pneumatické valce.


Použiteľné pracovné podmienky (limitné hodnoty by sa nemali objaviť súčasne)

Tlak

Maximálna extrúzna medzera

Rýchlosť

Teplota

Stredná

<16 MPA

S 0,6 mm

<6 m/s

-35~+110

Minerálny olej (s gumou NBR)

<25 MPA

S 0,4 mm

-20~+200

Minerálny olej (s gumou FKM)

<40 MPA

S 0,2 mm

-30~+100

Vzduch


Výber materiálu

1. Dostupné materiály O-krúžkov: R01 Nitril-butadiénový kaučuk (NBR), RO2 Fluororubber (FKM) atď.

2. Materiál tesniaceho krúžku: Štandardný materiál: PTFE3; ďalšie dostupné materiály: PTFE1, PTFE2 a PTFE4.

Príklad objednávky: RC66-D*d*L-PTFE3-R01 (vonkajší priemer*vnútorný priemer*šírka drážky) PTFE3, R01-kód materiálu




Hot Tags: SPGO tam
Odoslať dopyt
Kontaktné informácie
Získajte konkurenčné ceny, technickú podporu a rýchle reakcie. Pošlite svoje špecifikácie do Ruichenu pre riešenia tesnenia na mieru. K dispozícii sú vzorky zadarmo.
X
We use cookies to offer you a better browsing experience, analyze site traffic and personalize content. By using this site, you agree to our use of cookies. Privacy Policy
Reject Accept