Qingdao Ruichen Sealing Technology Co., Ltd.
Qingdao Ruichen Sealing Technology Co., Ltd.
Výrobky
X

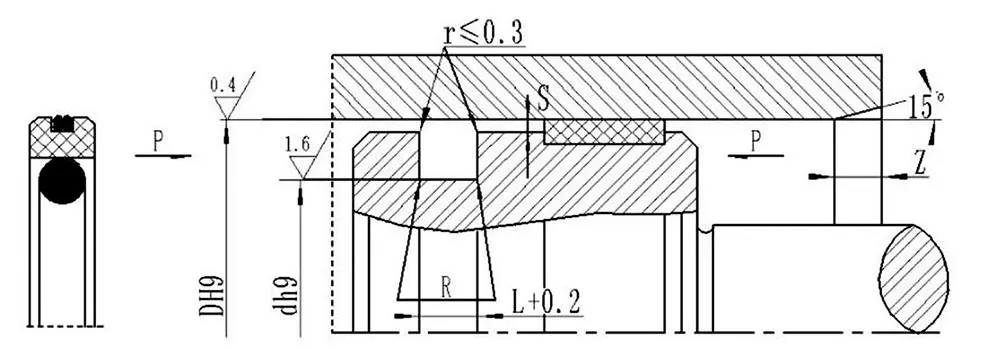
Zložené tesnenie PTFE typu AQ

Ak máte záujem o kúpu zloženého tesnenia AQ typu PTFE od Ruichen Seal, ponúkame vysoko flexibilné možnosti prispôsobenia materiálu: elastoméry je možné vybrať z rôznych druhov gúm, vrátane NBR a FKM. Okrem štandardného PTFE3 podporujú tesniace krúžky aj rôzne technické materiály vrátane PTFE1/PTFE2/PTFE4.

Zložené tesnenie PTFE typu AQ je široko prispôsobiteľné rôznym médiám, teplotám a pracovným podmienkam, čím sa výrazne zlepšuje kompatibilita a životnosť tesniaceho systému.


Uplatniteľné pracovné podmienky

Tlak Mpa

Teplota ℃

Rýchlosť m/s

Stredná

≤40

-35~+100 (NBR)

≤2

Hydraulický olej, emulzia, voda, plyn atď.

-20~+200 (FKM)


Výber materiálu

1. Dostupné elastomérne materiály: nitrilkaučuk R01 (NBR), fluórkaučuk RO2 (FKM) atď.

2. Materiál tesniaceho krúžku: Štandardný materiál: PTFE3; ďalšie dostupné materiály: PTFE1, PTFE2 a PTFE4.

Príklad objednávky AQ080080 x64,5x6,3(DxdxL)PTFE3-RO1 PTFE3 RO1-Kód materiálu



Hot Tags: Zložené tesnenie PTFE typu AQ
Odoslať dopyt
Kontaktné informácie
Získajte konkurenčné ceny, technickú podporu a rýchle reakcie. Pošlite svoje špecifikácie do Ruichenu pre riešenia tesnenia na mieru. K dispozícii sú vzorky zadarmo.
X
Súbory cookie používame, aby sme vám poskytli lepší zážitok z prehliadania, analyzovali návštevnosť stránok a prispôsobili obsah. Používaním tejto stránky súhlasíte s naším používaním cookies. Zásady ochrany osobných údajov
Odmietnuť Prijať