Základné hydraulické tesnenia spoločnosti Ruichen Seals zahŕňajú hlavne niekoľko druhov tesnení, z ktorých každý má vlastné výhody. O-krúžky sa široko používajú v rôznych dynamických a statických tesneniach kvôli nízkym nákladom na výrobu a pohodlným využitím. Väčšina krajín sformulovala sériu štandardov produktov pre O-krúžky, medzi ktorými je častejšia americká norma (AS568), japonský štandard (JISB2401) a medzinárodný štandard (ISO 3601/1). Národné normy sú GB3452.1 a GB1235.
Tesnenie v tvare hviezd je tesnenie so štyrmi lip s tvarom v tvare X, takže sa tiež nazýva krúžok v tvare X. Je to zlepšenie a vylepšenie založené na O-krúžku. Jeho prierezové rozmery sú rovnaké ako O-krúžok USA ako štandard 568A a v podstate môže nahradiť použitie O-krúžku.
Výhody hviezdnych prsteňov
V porovnaní s O-krúžkami majú hviezdne krúžky menší odpor trenia a menší počiatočný odpor, pretože tvoria mazačú dutinu medzi tesniacimi perami. Pretože jej hrana bleskov je umiestnená v konkávnej časti prierezu, je tesniaci efekt lepší. Nekruhový prierez účinne vyhýba valcujúcemu javu počas recipročného pohybu.
Pracovný mechanizmus hviezdneho kruhu
Hviezdny prsteň je sebestačný dvojité tesniaci prvok. Radiálne a axiálne sily závisia od tlaku systému. Keď sa tlak stúpa, stlačená deformácia hviezdneho kruhu sa zvýši a zvýši sa celková tesniaca sila, čím sa vytvorí spoľahlivé tesnenie.
Ako zvoliť prsteň tesnenia v tvare hviezdy
Ak je známy priemer hriadeľa a otvoru, vyberte príslušný tesniaci krúžok v tvare hviezdy podľa nasledujúcich kritérií:
1. Statické tesnenie alebo recipročný lineárny pohyb: (1) tesnenie otvorov: vnútorný priemer krúžku v tvare hviezdy by mal byť kompatibilný s drážkou alebo menej ako asi 2% priemeru drážky. Pretože predbežná sila generovaná predbežnou kompresiou môže účinne zabrániť krúžku tesnenia v tvare hviezdy. (2) Utesnenie hriadeľa: Vnútorný priemer krúžku v tvare hviezdy by sa mal rovnať alebo primerane väčší ako vonkajší priemer hriadeľa asi 0,2 ~ 0,3 mm, alebo môže byť asi o 1% väčší ako vonkajší priemer hriadeľa. Výsledkom je, že tesnenie sa ľahšie inštaluje a bude mať dlhšiu životnosť.
2. Rotačné tesnenie: Vnútorný priemer krúžku v tvare hviezdy by mal byť asi o 2 ~ 5% väčší ako priemer hriadeľa, ktorý tesne. Pretože tesniaci krúžok bude generovať trenie a teplo, keď sa použije v rotujúcom pohybe, a guma sa pri zahrievaní zmenšuje (joule efekt). Preto, aby sa zabezpečilo, že tesniaci krúžok bude možné mazať a spoľahlivo pracovať, musí sa zvoliť prsteň v tvare hviezdy s vnútorným priemerom väčším ako priemer hriadeľa. Zvyčajne môže spĺňať potreby statického tesnenia tesniaci krúžok s menším prierezom. Naopak, na splnenie dynamického tesnenia by sa mal zvoliť tesniaci krúžok s väčším prierezom. V prípade vysokého tlaku alebo veľkých medzier sa musí vybrať gumový materiál s vyššou tvrdosťou. Najlepším spôsobom je pridať zadržiavací krúžok PTFE, aby sa zabránilo poškodeniu vysokotlakového vytláčania.
Potiahnutý O-krúžok organicky kombinuje elasticitu a utesnenie gumy s chemickou odolnosťou teflónu. Skladá sa zo silikónu alebo fluórbberového vnútorného jadra a relatívne tenkého teflónového FEP alebo teflónového PFA vonkajšieho povlaku.
Materiál: Teflón FEP a teflón PFA sú v podstate podobné, ale teflón PFA má lepšiu vysokú teplotnú odolnosť ako teflón FEP. Prispôsobiteľný teplotný rozsah teflónového fep shell: -60 ℃ ~ 205 ℃ sa dá použiť pri 260 ℃ na krátky čas teflón PFA Shell: -60 ℃ ~ 260 ℃ sa dá použiť pri 300 ℃ pre krátke časové výhody:
1. Vynikajúca chemická odolnosť, vhodná pre takmer všetky chemické médiá
2. Široký teplotný rozsah
3. Dobrý odolnosť proti kompresii
4. Proti-tlmenie
5. Dobré protištávanie
6. Vysoký tlak odpor
7. Vynikajúca trvanlivosť a dlhá životnosť
Aplikácia: čerpadlá a ventily, reakčné nádoby, mechanické tesnenia, filtre, tlakové nádoby, výmenníky tepla, kotly, plynovody, plynové kompresory atď.
Aplikačné odvetvia: chemický priemysel, výroba lietadiel, farmaceutický priemysel, ropa a chemická preprava a rafinácia, filmový priemysel, chladiace inžinierstvo, priemysel spracovania potravín, priemysel papiera, výroba farbiva, striekanie farieb atď.
Inštalačné pokyny na tesnenie prsteňov
1. Časti, kde sú tesniace krúžky nainštalované alebo prechádzajú cez prechádzajú, musia byť hladké, bez prachov, drážok a ostrých rohov. Drsnosť vnútorného otvoru by mala dosiahnuť 1,6 μ a drsnosť hriadeľa by mala dosiahnuť 0,8um.
2. Na mazanie povrchu tesniaceho krúžku a príslušných častí v kontakte naneste čistý ľahký olej alebo tuk.
3. Ak je ťažké nainštalovať tesniaci krúžok na hriadeľ, ponorte ho do horúcej vody na niekoľko minút, aby ste ho rozšírili. Toto zmäknuté a rozšírené O-krúžok sa ľahšie inštalujú. Nainštalujte O-krúžok, keď je horúca, a jeho veľkosť sa po ochladení vráti do pôvodnej veľkosti.
4. Nehýbajte O-krúžok príliš násilne, inak to spôsobí vrásky v teflóne a ovplyvňuje jeho použitie.
Odporúčaná kompresia potiahnutého O-krúžku je nasledovná:
Statický stav tesnenia: 15%-20%
Dynamický stav tesnenia: 10%-12%
Pneumatický stav: 7%-8%
Skutočná kompresia by mala brať do úvahy pracovné podmienky, najmä tesniaci pracovný tlak a ďalšie faktory.
Funkcie a aplikácie produktu:
| Tabuľka parametrov O-krúžku |
|
|
|
|
Statické tesnenie | Dynamické tesnenie |
| Pracovný tlak | Bez zadržiavacieho krúžku, max 20 MPA So udržujúcim prsteňom, 40 MPA Max, špeciálnym kruhovým prsteňom 200 MPa Max | Bez zadržiavacieho krúžku, 5 MPA Max S zadržiavacím krúžkom, vyšším tlakom |
| Rýchlosť | Replaceproting 0,5 m/s max, otáčanie 2 m/s max | |
| Teplota | Všeobecné použitie: -30 ~+110, špeciálna guma: -60 ~+250, otáčanie: -30 ~+80 | |
| Médium | Pozri sekciu materiálov | |
| Norma | O-krúžok priemer prierezu w |
|
|||||
| Americký štandard ako 568 Britský štandard BS 1516 | 1.78 | 2.62 | 3.52 | 5.33 | 6.99 | - | |
| Japonský štandard IT B2401 | 1.9 | 2.4 | 3.1 | 3.5 | 5.7 | 8.4 | |
| Medzinárodný štandard ISO 3601/1 Nemecký štandardný DIN 3771/1 Čínsky štandardný CB 3452.1 | 1.8 | 2.65 | 3.55 | 5.30 | 7.00 | - | |
| Preferované metrické veľkosti | 1.0 | 1.5 | 2.0 | 2.5 | 3.0 | 3.5 | |
| 4.0 | 4.5 | 5.0 | 5.5 | 6.0 | 7.0 | ||
| 8.0 | 10.0 | 12.0 |
|
|
|
||
| Americký štandard ako 568 (Séria 900) | 1.02 | 1.42 | 1.63 | 1.83 | 1.98 | 2.08 | |
| 2.21 | 2.46 | 2.95 | 3.00 |
|
|
|
|
| Rozsah aplikácií hviezdnych prsteňov je veľmi široký. Vyberte správny materiál podľa teploty, tlaku a média. Aby sa prispôsobil hviezdny krúžok danej aplikácii, mali by sa zvážiť vzájomné obmedzenia medzi všetkými pracovnými parametrami. Pri určovaní rozsahu aplikácií sa musí zohľadniť špičková teplota, nepretržitá pracovná teplota a prevádzkový cyklus. V rotujúcich aplikáciách sa musí zohľadniť aj zvýšenie teploty spôsobeného trením tepla. | |||||
| Technické parametre | Dynamické tesnenie | Statické tesnenie |
|
||
| Piestový pohyb | Rotačný pohyb |
|
|||
| Pracovný tlak (MPA) | So udržujúcim prsteňom | 30 | 15 | 40 |
|
| Bez toho, aby si udržal prsteň | 5 | - | 5 |
|
|
| Rýchlosť (m/s) | 0.5 | 2.0 | - |
|
|
| Teplota (℃) | Všeobecné príležitosti: -30 ℃ ~+110 ℃ |
|
|||
| Špeciálne materiály: -60 ℃ ~+200 ℃ |
|
||||
| Rotačné príležitosti: -30 ℃ ~+80 ℃ |
|
||||
Materiál hviezdneho krúžku:
Materiálom je všeobecne Shaw A70 Nitril Gum NBR.
Potiahnutý O-krúžok:
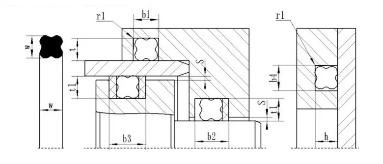
Schéma drážky zapuzdreného O-krúžku
Tabuľka rozmerov drážky zapuzdreného O-krúžku (odporúčané)
| Priemer drôtu D | A (mm) | B (mm) | ||
| Statické tesnenie | Dynamické tesnenie | Pneumatická pečať | ||
| 1.78 | 2,36/2,49 | 1,42/1,52 | 1,55/1,60 | 1,63/1,65 |
| 2.62 | 3,56/3,68 | 2,08/2,21 | 2,29/2,36 | 2,39/2,44 |
| 3.53 | 4,75/4,88 | 2,82/3,00 | 3,10/3,18 | 3,22/3,28 |
| 5.33 | 7,14/7,26 | 4,27/4,52 | 4,67/4,80 | 4,90/4,95 |
| 6.99 | 9,63/9,65 | 5,59/5,89 | 6.15/6.27 | 6,43/6,48 |
Sprievodca inštaláciou tesnenia Ruichen Seal Ptfe
Ⅰ. Inštalačný sprievodca
1. Tesnenie musí byť nainštalované na predbežnú stranu smerom k smeru tlaku.
2. Telo valca a piestový prút musia byť vyrobené pomocou push-in Chamfers, ktoré spĺňajú požiadavky vzoriek našej spoločnosti.
3. Sharp hránia musia byť bez burok a zaoblené alebo skosené.
4. Mali by byť zakryté závity, vodiace krúžkové drážky atď.
5. Akýkoľvek prach, trosky alebo iné cudzie častice sa musia starostlivo odstrániť.
6. Nástroje s ostrými hranami by sa nemali používať.
7. tesniaci krúžky PTFE sa ľahšie rozširujú v vyhrievanom oleji alebo vode (asi 80 ~ 120 stupňov) a ľahko sa obnovujú do pôvodného tvaru.
8. Ak perá z tesnenia potrebuje prejsť tlakovým otvorom oleja, mala by sa použiť plastová tyčinka na jemné tlačenie pery, aby sa zabránilo poškodeniu utesňujúceho pera. Otvory valca by sa mali skostiť. (Obrázok 3)
Ⅱ. Metóda inštalácie
Otvorené (rozdelené) drážky môžu byť nainštalované bez nástrojov.
Inštalácia tesnení piestovej tyče s uzavretou drážkou (obrázok 1)
1. Čistite a olej všetky substráty tesnenia, tesnenia a inštalačné náradie.
2. Vložte gumový prsteň do drážky (buďte opatrní, aby ste ho nekrútili).
3. Komprimujte tesniaci prsteň PTFE do tvaru obličiek bez toho, aby ste vytvorili špicatý ohyb, vložte stlačený prsteň tesnenia PTFE do drážky a ručne ho jemne splošte.
4. Zatlačte tŕň na zotavenie do tesnenia a jemne otočte tŕň. Nechajte ho 1 minútu a odstráňte tŕň. Inštalácia je dokončená.
Inštalácia piestových tesnení v uzavretých drážkách (obrázok 2)
1. Čistite a olej všetky substráty tesnenia, tesnenia a inštalačné náradie.
2. Vložte gumový prsteň do drážky (buďte opatrní, aby ste ho nekrútili).
3. Zatlačte tesniaci krúžok PTFE na vodiaci rukáv a natiahnite tesniaci krúžok.
4. Zatlačte roztiahnutý tesniaci krúžok do drážky piest.
5. Zatlačte korekčný oblek do tesniaceho krúžku a súčasne otočte korekčný rukáv. Odstráňte korekčný oblek po jeho opustení na 1 minútu a inštalácia je dokončená.
Poznámka: 1. Prosím, poraďte sa s našou spoločnosťou, ak produkt uvedený vo vzorke našej spoločnosti nie je možné nainštalovať do uzavretej drážky, ale nie je vhodný pre otvorenú drážku.
2. Vyššie uvedená inštalácia tesnení PTFE sa nevzťahuje na všetky tesnenia PTFE. V prípade potreby sa obráťte na našu spoločnosť.



























Adresa
No.1 Ruichen Road, Dongliuting Industrial Park, Chengyang District, Qingdao City, Shandong Province, Čína
Tel