Hydraulické tesnenia pre piestové otvory, v našom továrni a výskume a vývoji, existujú rozdelené modely a typy, z ktorých každý má svoje vlastné charakteristiky, ale dosiahli sme prísnu kontrolu kvality.
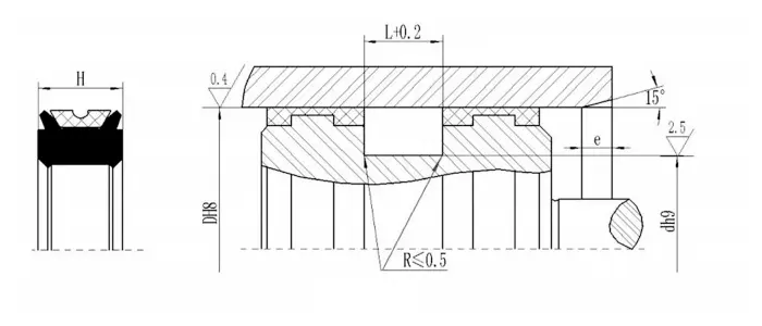
RC61 a RC62 sa skladajú z naplneného pravouhlého tesniaceho krúžku PTFE a gumového krúžku v tvare O vhodný na obojsmerný tlakový tlakový tlakový tlak. RC61-B sa skladá z naplneného tesniaceho krúžku PTFE PTFE a gumového krúžku v tvare O, ktorý je vhodný pre hydraulický recipročný pohybový jednosmerný tlakový tesnenie. RC62-B je pevné tesnenie spätného kroku, vhodné na utesnenie jednosmerného tlakového tesnenia. O-krúžok poskytuje radiálnu silu a kompenzuje opotrebenie tesniaceho krúžku. Všeobecne sa používa v spojení s vodiacim krúžkom pre ťažké hydraulické vybavenie. Rozdelené (otvorené) drážky by sa mali používať pre valce s priemerom menším ako 30 mm. Vlastnosti:
1. Nízke trenie, malý počiatočný odpor, hladký pohyb, rovnaké dynamické a statické trenie, žiadne plazivé;
2. Veľmi vysoký tlakový stabilita za tlakových a tvrdých podmienok;
3. Dlhá životnosť, môže sa použiť na mazacie tesnenia bez oleja;
4. Môže sa použiť na utesnenie médií s nízkou viskozitou, ako je voda;
OK sa skladá z termoplastického otvoreného tesniaceho krúžku vyrobeného zo špeciálneho materiálu a obdĺžnikového gumového krúžku, ktorý je vhodný pre hydraulické recipročné obojsmerné tlakové tesnenie pohybu. Gumový krúžok poskytuje radiálnu silu a kompenzuje opotrebenie tesniaceho krúžku. Pretože tesniaci prsteň prijíma otvorenú štruktúru, problém, ktorý potrebuje nainštalovanie špeciálnych nástrojov, je vyriešený. Vlastnosti:
1. Nízke trenie, malý počiatočný odpor, hladký pohyb, žiadne plazivé;
2. Veľmi vysoký tlakový stabilita za tlakových a tvrdých podmienok;
3. Jednoduchá a pohodlná inštalácia, nevyžadujú sa žiadne montážne nástroje;
4. Môže sa použiť na utesnenie médií s nízkou viskozitou, ako je voda;
5. Dobrý výkon anti-extrúzie, ktorý umožňuje väčšiu medzeru v extrúzii.
RC63 sa skladá z tesniaceho krúžku v tvare PTFE a gumového krúžku v tvare O, ktorý je vhodný pre hydraulické a pneumatické recipročné obojsmerný tlakový tlakový tesnenie pohybu. Kruh v tvare O poskytuje radiálnu silu a kompenzuje opotrebenie tesniaceho krúžku. Pretože tesniaci krúžok prijíma tenký dizajn pery, schopnosť kompenzácie sledovania je dobrá, takže tesnenie je dobrý a môže byť nainštalovaný v drážke GB12350. Rozdelené (otvorené) drážky by sa mali používať pre priemery valca menej ako 30 mm. Vlastnosti:
1. Môže sa použiť na hydraulický aj pneumatický a môže sa použiť na obojsmerné tlakové tesnenie;
2. Nízke trenie, malý počiatočný odpor, hladký pohyb, rovnaké dynamické a statické trenie, žiadne plazivé;
3. Dlhá životnosť, môže sa použiť na mazacie tesnenia bez oleja;
Mamičkamičkamičkamičkamičkamičkalý štrukturálny priestor, ľahká inštalácia a údržba;
KDAS, TPM (špeciálny tvar) je zostava tesnenia piestov s piatimi kombináciami pozostávajúca z gumového tesniaceho prvku, dvoch zadržiavacích krúžkov a dvoch vodiacich krúžkov. Vhodné na obojsmerné tlakové tesnenie piestov. Vlastnosti:
1. Dobré tesnenie, vysoká spoľahlivosť, kompaktná štruktúra;
2. Nebude stlačené do radiálnej medzery;
3. Jednoduchá inštalácia, integrálna piestová inštalácia;
Špeciálny geometrický tvar tesniaceho prvku NBR mu bráni v skrútení v drážke počas inštalácie.
GDKK sa skladá z dvoch vodiacich krúžkov, dvoch oporných krúžkov, pružného gumového krúžku a tesniaceho krúžku. Sprievodný krúžok hrá polohu a vedúcu úlohu. Ponučný krúžok hrá podpornú a polohovaciu úlohu, elastický gumový krúžok poskytuje elastickú silu a kompenzuje stratu tesniaceho kruhu. Tesniaci krúžok spolupracuje s vnútorným otvorom olejového valca, aby sa vytvoril tesniaci účinok, ktorý je vhodný na obojsmerný tlakový tesnenie piestu olejového valca. Má dobrý tesniaci účinok aj za tvrdých pracovných podmienok. Vlastnosti:
1. Nízke trenie, malý počiatočný odpor, hladký pohyb, rovnaké dynamické a statické trenie, žiadne plazivé;
2. Veľmi vysoký tlakový stabilita za tlakových a tvrdých podmienok;
3. Vysoká životnosť sa môže použiť na utesnenie v zlých mazaných podmienkach;
4. Môže sa použiť na utesnenie médií s nízkou viskozitou, ako je voda;
Vynikajúci vysoký a nízkotlakový tesniaci výkon.
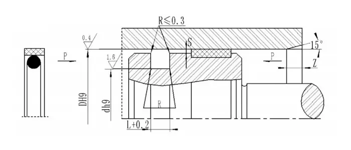
RC64 sa skladá z trojuholníkového tesniaceho krúžku PTFE a gumového krúžku O-krúžku, ktorý je vhodný pre hydraulický a pneumatický recipročný pohyb jednosmerného tlaku. O-krúžok poskytuje radiálnu silu a kompenzuje opotrebenie tesniaceho krúžku. Pretože tesniaci krúžok prijíma tenký dizajn pery, schopnosť kompenzácie sledovania je lepšia, takže tesnenie je dobrý. Rozdelená (otvorená) drážka by sa mala používať pre priemery valca menej ako 30 mm. Vlastnosti:
1. Môže sa použiť na hydraulický aj pneumatický;
2. Nízke trenie, malý počiatočný odpor, hladký pohyb, rovnaké dynamické a statické trenie, žiadne plazivé;
3. Dlhá životnosť, môže sa použiť na mazacie tesnenia bez oleja;
Mamičkamičkamičkamičkamičkamičkalý štrukturálny priestor, ľahká inštalácia a údržba;
SPG je kombinácia obdĺžnikového modifikovaného tesniaceho krúžku PTFE a obdĺžnikového gumového krúžku ako prvku predpätia. Má charakteristiky dobrého tesnenia, nízkeho trenia a malého štrukturálneho priestoru.
RC66 je kombinácia obdĺžnikového modifikovaného tesniaceho krúžku PTFE a O-krúžku ako prvku predpätia. Má vlastnosti dobrého tesnenia, nízkeho trenia a malého štrukturálneho priestoru. Je vhodný pre vysokorýchlostné olejové valce alebo valce. RC67 sa skladá z naplneného pravouhlého tesniaceho krúžku PTFE, dva zadržiavacie krúžky a heterogénny elastomér, ktorý je vhodný pre obojsmerný tlakový tlakový tlak na hydraulické recipretácie. Elastomér poskytuje radiálnu silu a kompenzuje opotrebenie tesniaceho krúžku. Ponučný krúžok chráni tesniaci krúžok a má dobrý tesniaci účinok aj za tvrdých pracovných podmienok. Vlastnosti:
1. Nízke trenie, malý počiatočný odpor, hladký pohyb, rovnaké dynamické a statické trenie, žiadne plazivé;
2. Veľmi vysoký tlakový stabilita za tlakových a tvrdých podmienok;
3. Vysoká životnosť sa môže použiť na mazacie tesnenia bez oleja;
4. Môže sa použiť na utesnenie médií s nízkou viskozitou, ako je voda;
5. Vynikajúci vysoký a nízkotlakový tesniaci výkon.
RCEK sa skladá zo sady tesniacich krúžkov v tvare V, tlakového krúžku a oporného krúžku a je vhodný na hydraulické recipročné pohybové jednosmerné tlakové tesnenie. Pri inštalácii sa musí aplikovať tuk kompatibilný s tesniacim materiálom. Nemôže byť nainštalovaný do integrálnej (uzavretej) drážky. Používa sa pre piestové tesnenia v strednom a ťažkom zaťažení. Vlastnosti:
1. K dispozícii sú rôzne materiály, ktoré je možné optimálne upraviť tak, aby vyhovovali rôznym účelom;
2. Môže sa použiť v tvrdých pracovných podmienkach a je vhodný pre takmer všetky médiá a tvrdé podmienky;
3. Má dlhú životnosť a môže sa použiť na mazacie tesnenia bez oleja (primeraný výber materiálu);
4. Utesnenie je možné upraviť a axiálna veľkosť je možné nastaviť pridaním alebo odstránením tesniacich krúžkov v tvare V;
Môže fungovať efektívne, aj keď je kvalita tesniaceho povrchu zlá.
RCKR sa skladá z tesniaceho krúžku PU a obdĺžnikového gumového krúžku, ktorý je vhodný pre obojsmerné utesnenie hydraulického recipročného pohybu. Je to doplnkový produkt produktov GLYD Ring, s lepšou schopnosťou utesnenia a tlaku ako glyd kruh a dá sa nainštalovať bez pomoci inštalačných nástrojov. Jeho vlastnosti:
1. Dobrý dynamický a statický tesniaci výkon;
2. Lepší nízkotlakový tesniaci výkon ako glyd krúžok a môže byť nainštalovaný bez inštalačných nástrojov;
3. Nízke trenie, malý počiatočný odpor a hladký pohyb;
4. Dlhá životnosť, môže sa použiť na tesnenie mazania bez oleja;
5. Môže sa použiť na obojsmerné tlakové tesnenie;
Inštalačná groove je v súlade so štandardom ISO7425/1.
RPW sa skladá zo špeciálneho tesniaceho krúžku PU a gumového krúžku v tvare O vhodný na hydraulický recipročný obojsmerný tlakový tlak. O-krúžok poskytuje radiálnu silu a kompenzuje opotrebenie tesniaceho krúžku. Všeobecne sa používa v spojení s vodiacim krúžkom. Vlastnosti:
1. Nízke trenie, malý počiatočný odpor, hladký pohyb, žiadne plazivé;
2. Veľmi vysoký tlakový stabilita za tlakových a tvrdých podmienok;
3. Dobrý tesniaci výkon pri vysokých aj nízkych tlakoch;
Na inštaláciu nie sú potrebné žiadne inštalačné nástroje.
TDA a TDMA sa skladajú zo špeciálnej gumy (alebo polyuretánu) elastoméru a modifikovaného tesniaceho krúžku PTFE a majú charakteristiky dobrého tesnenia, dlhej životnosti, nízkeho trenia, bez plazivosti atď. TDMA je vhodná na obojsmerné tlakové tesnenie piestov.
GGDA sa skladá z tesniaceho krúžku naplneného PTFE, dvoch plastových krúžkov v tvare L a elastickej sily O-krúžku, s dobrým tesnením, dlhou životnosťou, nízkym trením, bez plazivých a iných charakteristík. Vhodné pre obojsmerné tlakové tesnenie piestov.
Tesnenie RCUP je asymetrické tesnenie špeciálne používané na piest, vhodné na hydraulický recipročný pohyb jednosmerného tesnenia s dobrým tesniacim výkonom. Groove je v súlade so štandardom ISO5597. Utesňovací krúžok typu YXD pre hriadeľ je asymetrické tesnenie špeciálne používané na piest, vhodné na hydraulický recipročný pohyb jednosmerného tesnenia s dobrým tesniacim výkonom. Pri použití pod 12 ~ 32 mPa sa na päte vyžaduje drsný krúžok. Groove je v súlade so štandardom JB/ZQ4265-97. Vlastnosti:
1. Použiteľné pre ľahké zaťaženie a stredné zaťaženie;
2. Dobrý tesniaci výkon pre vysokotlakové aj nízkotlakové tesnenie;
3. K dispozícii sú rôzne materiály s širším rozsahom odporu médií;
4. Jednoduchá štruktúra a ľahká inštalácia a údržba.
Funkcie a aplikácie produktu:
Výber materiálu:
RC61, RC62
1. Materiály O-krúžkov môžu byť: R01 Nitril Gumber (NBR), R02 Fluororubber (FKM) atď.
2. Materiály tesnenia: Štandardný materiál PTFE3, Ostatné voliteľné materiály PTFE2, PTFE4, PU, atď.
V poriadku
1
2. Materiál tesniaceho krúžku: kompozitný termoplastický materiál.
RC63, RC64, SPG, RC66, AQ, AQF
1. Materiály O-krúžkov môžu byť: R01 Nitril Gumber (NBR), R02 Fluororubber (FKM) atď.
2. Materiály tesnenia: Štandardný materiál PTFE3, Ostatné voliteľné materiály PTFE1, PTFE2, PTFE4.
KDAS, TPM
1. Zodpovedajúci gumový krúžok Materiál: R01 Nitril Gumber
2. Udržiavací kruhový materiál: nylon PA/polyoxymetylén pom
3. Vodiaci krúžok: nylon PA/polyoxymetylén POM/polytetrafluóretylén PTFE
GDKK, RC67
1. Dostupné materiály Elastomer: R01 Nitril Gumber (NBR), R02 Fluororubber (FKM) atď.
2. Materiál tesnenia: Štandardný materiál PTFE3, Ostatné voliteľné materiály PTFE2, PTFE4.
3. Materiál na zadržiavanie krúžku: POM/PA/PTFE, materiál PTFE sa používa, keď teplota prekročí 100 stupňov.
Rcek
1. Materiál tlačového krúžku: polytetrafluóretylén, nitrilová tkanina, fluórbber tkanina, nylon, polyoxymetylén
2. Materiál V-krúžku: polytetrafluóretylén, nitrilová guma, nitrilová tkanina, fluórbber, fluórbber
3. Podporný kruhový materiál: nitrilová tkanina, fluórbber tkanina, nylon, polyoxymetylén, polytetrafluóretylén
RCKR, RPW
1
2. Materiál tesnenia: PU
Yxd
Voliteľná guma nitrilu (R01), Fluororubber (R02), polyuretán (PU) atď.
Príklad objednávania:
Objednávací model RC61-40X29X4.2-PTFE3-R01ODERACIONALING MODEL RC61-B-40X29X4.2-PTFE3-R02
RC61-Glyd Ring RC61-B-DLE TEAL DXDX L-Materiálny kód
RC62-80X60X10-PTFE3-R01 RC62-MODEL DXDXL PTFE3, R01 Kód materiálu
Objednávka Model OK-80X59X8 Priemer valca x priemer drážky x šírka drážky
Objednávací model RC63-80-PTFE3-R01 alebo SPGC-80-PTFE3-R01
RC63/SPGC-Model 80-valcový priemer D PTFE3-PTFE kód materiálu R01-O-RING
Objednávka Model KDAS-80X60X22.4 Priemer valca x priemer drážky x šírka drážky (L)
Objednávka Model TPM-80x60x22.4 Priemer valca x priemer drážky x šírka drážky (L)
Príklad objednávania: GDKK-80*62*43*22,5-R01
Objednávací model RC64-80-PTFE3-R01
RC64-model 80-valcový priemer d PTFE3-PTPE kód materiálu R01-O-RING
Príklad objednávania: SPG-D*D*L-PTFE3-R01 (Vonkajší priemer*Vnútorný priemer*šírka drážky) PTFE3, R01-materiálový kód
Rc66
Objednávací model RC67-100X85X12.5-PTFE3-R01 alebo SPGW-100X85X12.5-PTFE3 -R01
Priemer modelu valca x drážky spodného priemeru x šírka drážky PTFE3 modifikovaný kód materiálu PTFE R01 Kód materiálu elastoméru elastomér
Rcek
| model | Mamičkamičkamičkamičkamičkamičkateriál | Príslušný rozsah | Tesnenie |
| Rcek-a | V-krúžok: NBR tkanina, tlakový prsteň, oporný krúžok: NBR Cloth/PA/POM/PTFE | Normálna teplota, vysoký tlak | Dobrý |
| Rcek-b | V-krúžok: FKM Tkrička, tlakový prsteň, podporný prsteň: FKM TREK/PTFE | Vysoký teplota, vysoký tlak | Dobrý |
| Rcek-c | V-Ring: NBR, tlakový prsteň, podporný prsteň: NBR Cloth/PA/POM/PTFE | Normálna teplota, stredný a nízky tlak | Vynikajúci |
| Rcek-d | V-krúžok: FKM, tlakový prsteň, podporný prsteň: FKM TRIEW/PTFE | Vysoká teplota, stredný a nízky tlak | Vynikajúci |
| Rcek-e | V-krúžok: Kombinácia tkaniny NBR a NBR, tlakový krúžok, podporný krúžok: NBR Cloth/PA/POM/PTFE | Normálna teplota, stredný a vysoký tlak | Vynikajúci |
| Rcek-f | V-krúžok: Kombinácia tkaniny FKM a FKM, tlakový krúžok, podporný krúžok: FKM Cloth/PTFE | Vysoká teplota, stredný a vysoký tlak | Spravodlivý |
| Rcek-g | V-Ring, tlakový krúžok, podporný krúžok: PTFE1/PTFE2/PTFE3/PTFE4 | Vysoké teplotné a vysokotlakové korozívne médiá | Vynikajúci |
| Rcek-h | V-Ring: PU, tlakový prsteň, podporný prsteň: PU/PA/POM/PTFE | Normálna teplota, stredný a vysoký tlak | Tesnenie |
| Objednávka Model RCEK-A-120 × 95x25.3 Priemer valca modelu x drážky spodného priemeru x šírka drážky | |||
Aq
AQF
Rckr
Rpw
TDA
Dĺžka
| Rozsah priemeru valca | Dĺžka e≥ |
| 40-89 | 6 |
| 90-144 | 7 |
| 145-320 | 10 |
| 321-670 | 15 |
Tdmamička
Ggda
Rcup
Príklad objednávania: Objednajte model RCUP D63 × 48 × 10 Priemer valca × priemer drážky × Výška tesnenia
Yxd
Objednávka Model YXD63 × 51 × 14-R01 Priemer valca × Priemer drážky × výška tesnenia výšky materiálu
Špecifikácie:
Rc61| Clona D H9 |
Priemer drážky D H9 |
Šírka drážky L+0.2 |
Radiálna vôľa Smax | Zaoblené rohy Rmax |
Skosenie Zlín |
Priemer drôtu O-krúžku | |||
| Štandardný typ | Ľahké zaťaženie | Zaťaženie | 0 ~ 20mpa | 20 ~ 40 MPA | |||||
| 8 ~ 14.9 | 15 ~ 39,9 | - | D-4,9 | 2.2 | 0.20 | 0.15 | 0.4 | 2 | 1.80 |
| 15 ~ 39,9 | 40 ~ 79,9 | - | D-7.5 | 3.2 | 0.25 | 0.15 | 0.6 | 3 | 2.65 |
| 40 ~ 79,9 | 80 ~ 132.9 | 15 ~ 39,9 | D-11.0 | 4.2 | 0.25 | 0.20 | 1.0 | 4 | 3.55 |
| 80 ~ 132.9 | 133 ~ 329.9 | 40 ~ 79,9 | D-15.5 | 6.3 | 0.30 | 0.20 | 1.3 | 5 | 5.30 |
| 133 ~ 329.9 | 330-669.9 | 80 ~ 132.9 | D-21.0 | 8.1 | 0.35 | 0.25 | 1.8 | 7 | 7.00 |
| 330 ~ 669.9 | 670 ~ 999.9 | 133 ~ 329.9 | D-244.5 | 8.1 | 0.35 | 0.25 | 1.8 | 7 | 7.00 |
| 670 ~ 999.9 | - | 330 ~ 669.9 | D-28.0 | 9.5 | 0.5 | 0.30 | 2.5 | 8 | 8.60 |
| > 1000 | D-38 | 13.8 | 0.7 | 0.60 | 3 | 10 | 12.0 | ||
| POZNÁMKA: 1. Pre priemer otvorov ≤ 30 mm sa odporúča používať otvorenú drážku. | |||||||||
| 2. Pre tlak> 40 mPa, koreňová plocha tesnenia používa toleranciu s maxom H8/F8 | |||||||||
| Clona D H9 |
Priemer drážky D H9 |
Šírka drážky L+0.2 |
Radiálna vôľa Smax | Zaoblené rohy Rmax |
Skosenie Zlín |
|
| 0-20MPA | 20 ~ 40 MPA | |||||
| 20 ~ 49,9 | D-10 | 5 | 0.40 | 0.30 | 0.3 | 4 |
| 50 ~ 59,9 | D-15 | 7.5 | 0.40 | 0.30 | 0.4 | 5 |
| 60 ~ 149,9 | D-20 | 10 | 0.50 | 0.40 | 0.4 | 6 |
| 150 ~ 244,9 | D-25 | 12.5 | 0.60 | 0.50 | 0.4 | 8.5 |
| 245 ~ 519,9 | D-30 | 15 | 0.70 | 0.60 | 0.8 | 10 |
| 520 ~ 769.9 | D-35 | 17.5 | 0.80 | 0.70 | 1.2 | 13 |
| 770 ~ 1500 | D-40 | 20 | 0.80 | 0.70 | 1.2 | 15 |
| Poznámka: 1. Pre priemer otvorov ≤ 30 mm sa odporúča používať otvorenú drážku. | ||||||
| 2. Pre tlak> 40 MPa, koreňová plocha tesnenia používa toleranciu s maxom H8/F8. | ||||||
| model | Dh9 | Dh9 | L+0.2 | D1 | model | Dh9 | Dh9 | L+0.2 | D1 | model | Dh9 | Dh9 | L+0.2 | D1 |
| OK-25*16*4.2 | 25 | 16 | 4.2 | 24.3 | OK-90*74,5*6.3 | 90 | 74.5 | 6.3 | 89.0 | OK-160*139*8.0 | 160 | 139 | 8.0 | 158.8 |
| OK-32*21*4.2 | 32 | 21 | 4.2 | 31.3 | OK-95*74*8.0 | 95 | 74 | 8.0 | 94.0 | OK-170*149*8.0 | 170 | 149 | 8.0 | 168.8 |
| OK-40*26,3*5.8 | 40 | 26.3 | 5.8 | 39.2 | OK-100*79*8.0 | 100 | 79 | 8.0 | 99.0 | OK-180*159*8.0 | 180 | 159 | 8.0 | 178.8 |
| OK-40*29*4.2 | 40 | 29 | 4.2 | 39.3 | OK-100*84,5*6.3 | 100 | 84.5 | 6.3 | 99.0 | OK-190*169*8.0 | 190 | 169 | 8.0 | 188.8 |
| OK-50*34,5*6.3 | 50 | 34.5 | 6.3 | 49.0 | OK-105*84*8.0 | 105 | 84 | 8.0 | 103.8 | OK-200*179*8.0 | 200 | 179 | 8.0 | 198.8 |
| OK-50*39*4.2 | 50 | 39 | 4.2 | 49.3 | OK-110*89*8.0 | 110 | 89 | 8.0 | 108.8 | OK-210*189*8.0 | 210 | 189 | 8.0 | 208.4 |
| OK-60*41,7*7 | 60 | 41.7 | 7.0 | 59.2 | OK-110*94,5*6.3 | 110 | 94.5 | 6.3 | 109.0 | OK-220*199*8.0 | 220 | 199 | 8.0 | 218.4 |
| OK-60*49*4.2 | 60 | 49 | 4.2 | 59.3 | OK-115*94*8.0 | 115 | 94 | 8.0 | 113.8 | OK-230*209*8.0 | 230 | 209 | 8.0 | 228.4 |
| OK-63*44,7*7.0 | 63 | 44.7 | 7.0 | 62.2 | OK-120*99*8.0 | 120 | 99 | 8.0 | 118.3 | OK-240*219*8.0 | 240 | 219 | 8.0 | 238.4 |
| OK-63*47,5*6.3 | 63 | 47.5 | 6.3 | 62.0 | OK-125*104*8.0 | 125 | 104 | 8.0 | 123.8 | OK-250*229*8.0 | 250 | 229 | 8.0 | 248.4 |
| OK-70*51,7*7.0 | 70 | 51.7 | 7.0 | 69.2 | OK-125*109,5*6.3 | 125 | 109.5 | 6.3 | 124.0 | OK-280*225,5*8.0 | 280 | 255.5 | 8.0 | 278.4 |
| OK-70*59*4.2 | 70 | 59 | 4.2 | 69.3 | OK-130*109*8.0 | 130 | 109 | 8.0 | 128.8 | OK-300*272*9.5 | 300 | 272 | 9.5 | 297.8 |
| OK-75*54*8.0 | 75 | 54 | 8.0 | 74.2 | OK-130*114,5*6.3 | 130 | 114.5 | 6.3 | 129.0 | OK-320*292*9.5 | 320 | 292 | 9.5 | 317.8 |
| OK-75*59,5*6.3 | 75 | 59.5 | 6.3 | 74.0 | OK-135*114*8.0 | 135 | 114 | 8.0 | 133.5 | OK-330*302*9.5 | 330 | 302 | 9.5 | 327.8 |
| OK-80*59*8.0 | 80 | 59 | 8.0 | 79.0 | OK-135*119,5*6.3 | 135 | 119.5 | 6.3 | 134.0 | OK-350*322*9.5 | 350 | 322 | 9.5 | 347.8 |
| OK-80*64,5*6.3 | 80 | 64.5 | 6.3 | 79.0 | OK-140*119*8.0 | 140 | 119 | 8.0 | 138.8 | OK-370*342*9.5 | 370 | 342 | 9.5 | 367.8 |
| OK-85*64*8.0 | 85 | 64 | 8.0 | 84.0 | OK-145*124*8.0 | 145 | 124 | 8.0 | 143.8 | OK-420*392*9.5 | 420 | 392 | 9.5 | 417.8 |
| OK-90*69*8.0 | 90 | 69 | 8.0 | 89.0 | OK-150*129*8.0 | 150 | 129 | 8.0 | 148.8 |
|
|
|
|
|
| Clona D H9 |
Priemer drážky D H9 | Šírka drážky L+0.2 |
Odbavenie Smamičkax |
Okrúhle rohy Rmax |
Skosenie Zblesk |
Priemer drôtu O-krúžku dO |
|
| Hydraulický | Pneumatické a hydraulické nízke trenie | ||||||
| 6 ~ 13 | D-3 | D-3,5 | 2.5 | 0.2 | 0.4 | 3 | 1.9 |
| 14 ~ 26 | D-4 | D-4,6 | 3.2 | 0.3 | 0.6 | 4 | 2.4 |
| 27 ~ 56 | D-6 | D-6.6 | 4.7 | 0.3 | 1 | 5 | 3.5 |
| 57 ~ 169 | D-10 | D-10.6 | 7.5 | 0.35 | 1 | 6 | 5.7 |
| 170 ~ 1500 | D-15 | D-15.6 | 11.0 | 0.4 | 2.5 | 8 | 8.6 |
| model | veľkosť | model | veľkosť | ||||||||||
| D | d | D1 | D2 | L | L1 | D | d | D1 | D2 | L | L1 | ||
| KDAS-20 | 20 | 11 | 17 | 19 | 13.5 | 2.1 | KDAS-25/2 | 25 | 16 | 22 | 24 | 13.5 | 2.1 |
| KDAS-22 | 22 | 13 | 19 | 21 | 13.5 | 2.1 | KDAS-28 | 28 | 19 | 25 | 27 | 13.5 | 2.1 |
| KDAS-25/1 | 25 | 15 | 22 | 24 | 12.5 | 4 | KDAS-30 | 30 | 21 | 27 | 29 | 13.5 | 2.1 |
| Číslo produktu | D | d | b | d2 | d3 | a | c | f | e |
| GDKK-40 | 40 | 26 | 32 | 32 | 36 | 3 | 15.5 | 8.25 | 7 |
| GDKK-45 | 45 | 31 | 37 | 41 | |||||
| GDKK-50 | 50 | 34 | 39 | 42 | 46 | 20.5 | 9.25 | ||
| GDKK-56 | 56 | 40 | 48 | 52 | |||||
| GDKK-63 | 63 | 47 | 55 | 59 | |||||
| GDKK-65 | 65 | 49 | 57 | 61 | |||||
| GDKK-70 | 70 | 54 | 62 | 66 | |||||
| GDKK-75 | 75 | 59 | 67 | 71 | |||||
| GDKK-80 | 80 | 62 | 43 | 72 | 76 | 22.5 | 10.25 | ||
| GDKK-85 | 85 | 67 | 77 | 81 | |||||
| GDKK-90 | 90 | 72 | 82 | 86 | |||||
| GDKK-95 | 95 | 77 | 87 | 91 | |||||
| GDKK-100 | 100 | 82 | 92 | 96 | 10 | ||||
| GDKK-110 | 110 | 92 | 102 | 106 | |||||
| GDKK-115 | 115 | 97 | 107 | 111 | |||||
| GDKK-120 | 120 | 102 | 112 | 116 |
| Clona D H9 |
Priemer drážky Dh9 |
Šírka drážky L+0.2 |
Zaoblené rohy Rmax |
Odbavenie Smax |
Skosenie Zlín |
Priemer drôtu O-krúžku dO |
| 14 ~ 22,9 | D-5.2 | 3.8 | 0.6 | 0.25 | 3 | 2.65 |
| 23 ~ 49,9 | D-6.6 | 4.8 | 1 | 0.3 | 4 | 3.55 |
| 50 ~ 119,9 | D-10.0 | 7.3 | 1.3 | 0.35 | 6 | 5.30 |
| 120 ~ 1500 | D-3,0 | 9.5 | 1.8 | 0.4 | 8 | 7.00 |
| Poznámka: Pre priemer valca ≤30 mm sa odporúča otvorená drážka. | ||||||
| D | d | H | L+0.2 |
|
D | d | H | L+0.2 |
|
D | d | H | L+0.2 |
|
D | d | H | L+0.2 |
| 30 | 20.5 | 4.3 | 4.5 | 95 | 80 | 7.3 | 7.5 | 224 | 202 | 10.8 | 11 | 800 | 785 | 12.7 | 13 | |||
| 31.5 | 22 | 4.3 | 4.5 | 100 | 85 | 7.3 | 7.5 | 225 | 203 | 10.8 | 11 | 900 | 870 | 24.5 | 25 | |||
| 32 | 22.5 | 4.3 | 4.5 | 108 | 92 | 7.3 | 7.5 | 230 | 208 | 10.8 | 11 | 930 | 890 | 19 | 20 | |||
| 35 | 25.5 | 4.3 | 4.5 | 110 | 94 | 7.3 | 7.5 | 240 | 218 | 10.8 | 11 | 935 | 920 | 12.7 | 13 | |||
| 35.5 | 26 | 4.3 | 4.5 | 112 | 96 | 7.3 | 7.5 | 250 | 228 | 10.8 | 11 | 950 | 925 | 17.7 | 18 | |||
| 40 | 30 | 4.3 | 4.5 | 120 | 104 | 7.3 | 7.5 | 260 | 236 | 11.7 | 12 | 1000 | 960 | 19.7 | 20 | |||
| 45 | 35 | 4.3 | 4.5 | 125 | 109 | 7.3 | 7.5 | 270 | 246 | 11.7 | 12 | 1060 | 1020 | 19.7 | 20 | |||
| 50 | 40 | 4.3 | 4.5 | 130 | 114 | 7.3 | 7.5 | 280 | 256 | 11.7 | 12 | 1120 | 1080 | 19.7 | 20 | |||
| 55 | 45 | 4.3 | 4.5 | 140 | 124 | 7.3 | 7.5 | 290 | 266 | 11.7 | 12 | 1150 | 1110 | 19.7 | 20 | |||
| 56 | 46 | 4.3 | 4.5 | 145 | 129 | 7.3 | 7.5 | 300 | 276 | 11.7 | 12 | 1180 | 1130 | 19.7 | 20 | |||
| 60 | 50 | 4.3 | 4.5 | 150 | 134 | 7.3 | 7.5 | 310 | 286 | 11.7 | 12 | 1210 | 1170 | 19.7 | 20 | |||
| 63 | 48 | 7.3 | 7.5 | 155 | 139 | 7.3 | 7.5 | 320 | 296 | 11.7 | 12 | 1250 | 1210 | 19 | 20 | |||
| 65 | 50 | 7.3 | 7.5 | 160 | 144 | 7.3 | 7.5 | 330 | 308 | 9.75 | 10 | 1260 | 1220 | 19.7 | 20 | |||
| 69 | 54 | 7.3 | 7.5 | 170 | 148 | 10.8 | 11 | 360 | 336 | 11.7 | 12 | 1400 | 1350 | 19.7 | 20 | |||
| 70 | 55 | 7.3 | 7.5 | 180 | 158 | 10.8 | 11 | 485 | 455 | 14.8 | 15 | 1500 | 1460 | 19.7 | 20 | |||
| 71 | 56 | 7.3 | 7.5 | 190 | 168 | 10.8 | 11 | 500 | 470 | 14.8 | 15 | 1650 | 1600 | 24 | 25 | |||
| 75 | 60 | 7.3 | 7.5 | 200 | 178 | 10.8 | 11 | 550 | 515 | 17.2 | 17.5 |
|
|
|
|
|||
| 80 | 65 | 7.3 | 7.5 | 204 | 182 | 10.8 | 11 | 600 | 570 | 14.8 | 15 |
|
|
|
|
|||
| 85 | 70 | 7.3 | 7.5 | 210 | 188 | 10.8 | 11 | 650 | 620 | 14.8 | 15 |
|
|
|
|
|||
| 90 | 75 | 7.3 | 7.5 | 220 | 198 | 10.8 | 11 | 720 | 690 | 14.8 | 15 |
|
|
|
|
| Príklad objednávania: RC66-D*D*L-PTFE3-R01 (Vonkajší priemer*Vnútorný priemer*šírka drážky) PTFE3, R01-Kód materiálu | ||||||||||||||||||
| D | d | L |
|
D | d | L |
|
D | d | L |
|
D | d | L |
|
D | d | L |
| 15 | 10 | 2 | 32 | 24.8 | 4 | 55 | 45 | 5 | 80 | 66 | 6.5 | 125 | 111.2 | 7.5 | ||||
| 16 | 11 | 2 | 35 | 26.5 | 4 | 55 | 46.5 | 4 | 80 | 66.2 | 7.5 | 125 | 114 | 4 | ||||
| 18 | 13 | 2 | 35 | 27.5 | 3 | 56 | 46 | 5 | 80 | 70 | 4 | 130 | 116 | 6.5 | ||||
| 20 | 12.8 | 4 | 35 | 27.8 | 4 | 56 | 47.5 | 4 | 90 | 76 | 6.5 | 140 | 126 | 6.5 | ||||
| 20 | 14 | 3 | 36 | 28.5 | 3 | 60 | 50 | 4 | 90 | 76.2 | 7.5 | 140 | 126.2 | 7.5 | ||||
| 20 | 15 | 2 | 36 | 28.8 | 4 | 60 | 50 | 5 | 90 | 80 | 4 | 160 | 146 | 6.5 | ||||
| 25 | 17.8 | 4 | 40 | 30 | 5 | 60 | 51.5 | 4 | 100 | 86 | 6.5 | 180 | 160 | 10 | ||||
| 25 | 19 | 3 | 40 | 31.5 | 4 | 63 | 49 | 6.5 | 100 | 86.2 | 7.5 | 180 | 165 | 6 | ||||
| 25 | 20 | 2 | 40 | 32.5 | 3 | 63 | 53 | 4 | 100 | 89 | 4 | 200 | 180 | 10 | ||||
| 28 | 20.5 | 3 | 45 | 35 | 5 | 63 | 53 | 5 | 110 | 96 | 6.5 | 200 | 185 | 6 | ||||
| 28 | 20.8 | 4 | 45 | 36.5 | 4 | 65 | 51 | 6.5 | 110 | 96.2 | 7.5 | 250 | 230 | 10 | ||||
| 30 | 21.5 | 4 | 45 | 37.5 | 3 | 65 | 55 | 4 | 110 | 99 | 4 | 280 | 260 | 10 | ||||
| 30 | 22.5 | 3 | 50 | 40 | 4 | 65 | 55 | 5 | 120 | 106 | 6.5 | 320 | 300 | 10 | ||||
| 30 | 22.8 | 4 | 50 | 40 | 5 | 70 | 56 | 6.5 | 120 | 106.2 | 7.5 |
|
|
|
||||
| 32 | 23.5 | 4 | 50 | 41.5 | 4 | 70 | 60 | 4 | 120 | 109 | 4 |
|
|
|
||||
| 32 | 24.5 | 3 | 55 | 45 | 4 | 70 | 60 | 5 | 125 | 111 | 6.5 |
|
|
|
||||
| Poznámka: Rozmery nie sú uvedené v tejto tabuľke, kontaktujte nás. | ||||||||||||||||||
| Dh9 | D H9 | L+0.2 | Z | R |
|
Dh9 | D H9 | L+0.2 | Z | R |
| 50.0 | 36.0 | 9.0 | 5.0 | 0.3 | 115.0 | 100.0 | 12.5 | 5.0 | 0.5 | |
| 55.0 | 41.0 | 9.0 | 5.0 | 0.3 | 120.0 | 105.0 | 12.5 | 5.0 | 0.5 | |
| 60.0 | 46.0 | 9.0 | 5.0 | 0.3 | 125.0 | 102.0 | 16.0 | 6.5 | 0.6 | |
| 63.0 | 48.0 | 11.0 | 5.0 | 0.5 | 130.0 | 107.0 | 16.0 | 6.5 | 0.6 | |
| 65.0 | 50.0 | 11.0 | 5.0 | 0.5 | 135.0 | 112.0 | 16.0 | 6.5 | 0.6 | |
| 70.0 | 55.0 | 11.0 | 5.0 | 0.5 | 140.0 | 117.0 | 16.0 | 6.5 | 0.6 | |
| 75.0 | 60.0 | 11.0 | 5.0 | 0.5 | 145.0 | 122.0 | 16.0 | 6.5 | 0.6 | |
| 80.0 | 65.0 | 11.0 | 5.0 | 0.5 | 150.0 | 127.0 | 16.0 | 6.5 | 0.6 | |
| 85.0 | 70.0 | 11.0 | 5.0 | 0.5 | 155.0 | 132.0 | 16.0 | 6.5 | 0.6 | |
| 90.0 | 75.0 | 11.0 | 5.0 | 0.5 | 160.0 | 137.0 | 16.0 | 6.5 | 0.6 | |
| 95.0 | 80.0 | 12.5 | 5.0 | 0.5 | 165.0 | 142.0 | 16.0 | 6.5 | 0.6 | |
| 100.0 | 85.0 | 12.5 | 5.0 | 0.5 | 170.0 | 147.0 | 16.0 | 6.5 | 0.6 | |
| 105.0 | 90.0 | 12.5 | 5.0 | 0.5 | 180.0 | 157.0 | 16.0 | 6.5 | 0.6 | |
| 110.0 | 95.0 | 12.5 | 5.0 | 0.5 |
|
|
|
|
|
| Špecifikácie a rozmery | ||||||||||
| Priemer valca | Priemer | Priemer | Šírka | Vodiaci min. |
|
Priemer valca | Priemer | Priemer | Šírka | Vodiaci min. |
| Dh9 | D H9 | D 1 | L | Z | Dh9 | D H9 | D 1 | L | Z | |
| 100 | 80 | 99 | 21.2 | 6 | 150 | 120 | 148.5 | 29 | 7.5 | |
| 110 | 90 | 109 | 21.2 | 6 | 160 | 130 | 158.5 | 29 | 7.5 | |
| 120 | 95 | 119 | 25.3 | 7.5 | 180 | 150 | 178.5 | 31.5 | 7.5 | |
| 140 | 115 | 139 | 25.8 | 7.5 | 200 | 170 | 198.5 | 33.5 | 7.5 | |
| Príklad objednávania AQ0800 80 × 64,5 × 6,3 (D × D × L) PTFE3-R01 PTFE3 R01-materiálový kód | ||||||||||||||||
| Číslo produktu | D | d | L+0.2 | RMamičkamičkamičkamičkamičkamičkax |
|
Číslo produktu | D | d | L+0.2 | RMamičkamičkamičkamičkamičkamičkax |
|
Číslo produktu | D | d | L+0.2 | RMamičkamičkamičkamičkamičkamičkax |
| AQ0160 | 16 | 5 | 4.2 | 0.8 | AQ0800L | 80 | 64.5 | 6.3 | 1.2 | AQ1500 | 150 | 129 | 8.1 | 1.6 | ||
| Add0180 | 18 | 7 | 42 | 0.8 | AQ0800 | 80 | 59 | 8.1 | 1.6 | AQ1600 | 160 | 139 | 8.1 | 1.6 | ||
| AQ0200 | 20 | 9 | 4.2 | 0.8 | AQ0850L | 85 | 69.5 | 6.3 | 1.2 | AQ1700 | 170 | 149 | 8.1 | 1.6 | ||
| AQ0220 | 22 | 11 | 4.2 | 0.8 | AQ0850 | 85 | 64 | 8.1 | 1.6 | AQ1800 | 180 | 159 | 8.1 | 1.6 | ||
| AQ0250 | 25 | 14 | 4.2 | 0.8 | AW0900L | 90 | 74.5 | 6.3 | 1.2 | AQ1900 | 190 | 169 | 8.1 | 1.6 | ||
| AQ0280 | 28 | 17 | 4.2 | 0.8 | AQ0900 | 90 | 69 | 8.1 | 1.6 | AQ2000 | 200 | 179 | 8.1 | 1.6 | ||
| AQ0300 | 30 | 19 | 4.2 | 0.8 | AQ0950L | 95 | 79.5 | 6.3 | 1.2 | AQ2100 | 210 | 189 | 8.1 | 1.6 | ||
| AQ0320 | 32 | 21 | 4.2 | 0.8 | AQ0950 | 95 | 74 | 8.1 | 1.6 | AQ2200 | 220 | 199 | 8.1 | 1.6 | ||
| AQ0350 | 35 | 24 | 4.2 | 0.8 | Aq1000l | 100 | 84.5 | 6.3 | 1.2 | AQ2300 | 230 | 209 | 8.1 | 1.6 | ||
| AQ0400 | 40 | 29 | 4.2 | 0.8 | AQ1000 | 100 | 79 | 8.1 | 1.6 | AQ2400 | 240 | 219 | 8.1 | 1.6 | ||
| Príklad objednávania AQF0800 80 × 67 × 8,3 (D × D × L) PTFE3-R01 Kód materiálu | ||||||||||||||||
| Číslo produktu |
D H9 |
d H9 |
L+0.2 | RMamičkamičkamičkamičkamičkamičkax |
|
Číslo produktu |
D H9 |
d H9 |
L+0.2 | RMamičkamičkamičkamičkamičkamičkax |
|
Číslo produktu |
D H9 |
d H9 |
L+0.2 | RMamičkamičkamičkamičkamičkamičkax |
| AQF0400 | 40 | 30 | 6.3 | 1.2 | AQF01150 | 115 | 102 | 8.3 | 1.6 | AQF3200 | 320 | 302 | 12.3 | 3 | ||
| AQF0420 | 42 | 32 | 6.3 | 1.2 | AQF01200 | 120 | 107 | 8.3 | 1.6 | AQF3500 | 350 | 332 | 12.3 | 3 | ||
| AQF0450 | 45 | 35 | 6.3 | 1.2 | AQF01250 | 125 | 112 | 8.3 | 1.6 | AQF4000 | 400 | 382 | 12.3 | 3 | ||
| AQF0480 | 48 | 38 | 6.3 | 1.2 | AQF01300 | 130 | 117 | 8.3 | 1.6 | AQF4200 | 420 | 402 | 12.3 | 3 | ||
| AQF0500 | 50 | 40 | 6.3 | 1.2 | AQF1350 | 135 | 117 | 12.3 | 3 | AQF4500 | 450 | 432 | 12.3 | 3 | ||
| AQF0520 | 52 | 42 | 6.3 | 1.2 | AQF1400 | 140 | 122 | 12.3 | 3 | AQF4800 | 480 | 449 | 16.3 | 3 | ||
| AQF0550 | 55 | 45 | 6.3 | 1.2 | AQF1500 | 150 | 132 | 12.3 | 3 | AQF5000 | 500 | 469 | 16.3 | 3 | ||
| AQF0600 | 60 | 50 | 6.3 | 1.2 | AQF1600 | 160 | 142 | 12.3 | 3 | AQF6000 | 600 | 569 | 16.3 | 3 | ||
| AQF0630 | 63 | 53 | 6.3 | 1.2 | AQF1700 | 170 | 152 | 12.3 | 3 | AQF7000 | 700 | 669 | 16.3 | 3 | ||
| D | d | L | D1 |
|
D | d | L | D1 |
|
D | d | L | D1 |
| 20 | 12.5 | 3.2 | 19.7 | 63 | 50 | 6.3 | 62.6 | 100 | 79 | 8.1 | 99.5 | ||
| 25 | 17.5 | 3.2 | 24.7 | 65 | 52 | 6.3 | 64.6 | 105 | 84.5 | 6.3 | 104.6 | ||
| 25 | 14 | 4.2 | 24.7 | 70 | 59 | 4.2 | 69.7 | 105 | 89.5 | 6.3 | 104.6 | ||
| 32 | 24.5 | 3.2 | 31.7 | 70 | 54.5 | 6.3 | 69.6 | 110 | 89 | 8.1 | 109.5 | ||
| 32 | 21 | 4.2 | 31.7 | 70 | 57 | 6.3 | 69.6 | 115 | 94 | 8.1 | 114.5 | ||
| 40 | 32.5 | 3.2 | 39.7 | 75 | 59.5 | 6.3 | 74.6 | 120 | 99 | 8.1 | 119.5 | ||
| 40 | 29 | 4.2 | 39.7 | 75 | 62 | 6.3 | 74.6 | 125 | 109.5 | 6.3 | 124.6 | ||
| 45 | 34 | 4.2 | 44.7 | 80 | 69 | 4.2 | 79.7 | 125 | 104 | 8.1 | 124.5 | ||
| 45 | 32 | 6.3 | 44.6 | 80 | 64.5 | 6.3 | 79.6 | 140 | 119 | 8.1 | 139.5 | ||
| 50 | 39 | 4.2 | 49.7 | 85 | 71.5 | 6.3 | 84.6 | 160 | 139 | 8.1 | 159.5 | ||
| 50 | 34.5 | 6.3 | 49.6 | 90 | 74.5 | 6.3 | 89.6 | 200 | 179 | 8.1 | 199.5 |
| Clona D H9 |
Priemer drážky D H9 |
Šírka drážky L+0.2 |
Radiálna vôľa Smax | Zaoblené rohy Rmax |
Skosenie Z |
Priemer drôtu O-krúžku | |||
| Štandardný typ Rpw |
Ľahké zaťaženie Rpw-q |
Zaťaženie Rpw-z |
0 ~ 20mpa | 20-40MPA | |||||
| 8 ~ 14.9 | 15 ~ 39,9 | - | D-4,9 | 2.2 | 0.20 | 0.15 | 0.4 | 2 | 1.80 |
| 15 ~ 39,9 | 40 ~ 79,9 | - | D-7.5 | 3.2 | 0.25 | 0.15 | 0.6 | 3 | 2.65 |
| 40 ~ 79,9 | 80 ~ 132.9 | 15 ~ 39,9 | D-11.0 | 4.2 | 0.25 | 0.20 | 1.0 | 4 | 3.55 |
| 80 ~ 132.9 | 133 ~ 329.9 | 40 ~ 79,9 | D-15.5 | 6.3 | 0.30 | 0.20 | 1.3 | 5 | 5.30 |
| 133 ~ 329.9 | 330 ~ 669.9 | 80 ~ 132.9 | D-21.0 | 8.1 | 0.35 | 0.25 | 1.8 | 7 | 7.00 |
| 330-669.9 | 670 ~ 999.9 | 133 ~ 329.9 | D-244.5 | 8.1 | 0.35 | 0.25 | 1.8 | 7 | 7.00 |
| 670 ~ 999.9 | - | 330 ~ 669.9 | D-28.0 | 9.5 | 0.5 | 0.30 | 2.5 | 8 | 8.60 |
| > 1000 | D-38 | 13.8 | 0.7 | 0.60 | 3 | 10 | 12.0 | ||
| Poznámka: 1. Pre priemer otvorov ≤ 30 mm sa odporúča používať otvorenú drážku. | |||||||||
| 2. Pre tlak> 40 MPa, oblasť tesnenia používa toleranciu H8/F8. | |||||||||
|
|
|||||||||||||
| Objednávkové číslo | Dh8 | Dh9 | L+0,2 |
|
Objednávkové číslo | Dh8 | Dh9 | L+0,2 |
|
Objednávkové číslo | Dh8 | Dh9 | L+0,2 |
| TDA0400 | 40 | 32 | 7.5 | TDA1150 | 115 | 100 | 13 | TDA2800 | 280 | 260 | 17 | ||
| TDA0450 | 45 | 37 | 7.5 | TDA1200 | 120 | 105 | 13 | TDA3000 | 300 | 280 | 17 | ||
| TDA0500 | 50 | 42 | 7.5 | TDA1250 | 125 | 110 | 13 | TDA3200 | 320 | 300 | 17 | ||
| TDA0550 | 55 | 45 | 7.5 | TDA1300 | 130 | 115 | 13 | TDA3500 | 350 | 320 | 21 | ||
| TDA0600 | 60 | 45 | 13 | TDA1400 | 140 | 120 | 13 | TDA3700 | 370 | 345 | 17 | ||
| TDA0630 | 63 | 53 | 8.5 | TDA1450 | 145 | 125 | 13 | TDA3800 | 380 | 350 | 21 | ||
| TDA0630A | 63 | 48 | 13 | TDA1500 | 150 | 130 | 13 | TDA3900 | 390 | 360 | 21 | ||
| TDA0650 | 65 | 50 | 8.5 | TDA1600 | 160 | 140 | 13 | TDA4100 | 410 | 380 | 21 | ||
| TDA0650A | 65 | 50 | 13 | TDA1600A | 160 | 140 | 17 | TDA4300 | 430 | 400 | 21 | ||
| TDA0700 | 70 | 55 | 13 | TDA1700 | 170 | 150 | 17 | TDA4500 | 450 | 420 | 21 | ||
| TDA0750 | 75 | 60 | 13 | TDA1800 | 180 | 160 | 17 | TDA4800 | 480 | 450 | 21 | ||
| TDA0800 | 80 | 65 | 13 | TDA1900 | 190 | 170 | 17 | TDA5000 | 500 | 475 | 17 | ||
| TDA0850 | 85 | 70 | 13 | TDA2000 | 200 | 180 | 17 | TDA5100 | 510 | 480 | 21 | ||
| TDA0900 | 90 | 75 | 13 | TDA2100 | 210 | 190 | 17 | TDA5900 | 590 | 560 | 21 | ||
| TDA0950 | 95 | 80 | 13 | TDA2200 | 220 | 200 | 17 | TDA6000 | 600 | 570 | 21 | ||
| TDA1000 | 100 | 85 | 13 | TDA2250 | 225 | 205 | 17 | TDA6700 | 670 | 640 | 21 | ||
| TDA1100 | 110 | 95 | 13 | TDA2500 | 250 | 230 | 17 |
|
|
|
|
||
| Poznámka: Ak požadované špecifikácie nie sú v tejto tabuľke, kontaktujte nás. | |||||||||||||
| Inštalačné rozmery |
|
|
|
|
|
|
|
|
|
|
|
Dĺžka | |||||
| Priemer valca8 | Drážkový priemer dna | Šírka slotu L+0,2 | Výška tesnenia H |
|
|
Rozsah priemeru valca | Dĺžka e≥ | ||||||||||
| 40-120 | D-10 | 16 | 15 |
|
|
40-124 | 7 | ||||||||||
| 121-300 | D-12 | 16 | 15 |
|
|
125-299 | 10 | ||||||||||
| 301-380 | D-14 | 16 | 15 |
|
|
300-630 | 15 | ||||||||||
| > 380 | D-16 | 16 | 15 |
|
|
||||||||||||
|
|
|
|
|
|
|
|
|
||||||||||
| Objednávkové číslo | Dh8 | Dh9 | L+0.2 |
|
Objednávkové číslo | Dh8 | Dh9 | L+0.2 |
|
Objednávkové číslo | Dh8 | Dh9 | L+0.2 | ||||
| TDMA0400 | 40 | 30 | 16 | TDMA1150 | 115 | 105 | 16 | TDMA2500 | 250 | 238 | 16 | ||||||
| TDMA0450 | 45 | 35 | 16 | TDMA1200 | 120 | 110 | 16 | TDMA2800 | 280 | 268 | 16 | ||||||
| TDMA0500 | 50 | 40 | 16 | TDMA1250 | 125 | 113 | 16 | TDMA3000 | 300 | 288 | 16 | ||||||
| TDMA0550 | 55 | 45 | 16 | TDMA1300 | 130 | 118 | 16 | TDMA3200 | 320 | 306 | 16 | ||||||
| TDMA0560 | 56 | 46 | 16 | TDMA1350 | 135 | 123 | 16 | TDMA3500 | 350 | 336 | 16 | ||||||
| TDMA0600 | 60 | 50 | 16 | TDMA1400 | 140 | 128 | 16 | TDMA3800 | 380 | 366 | 16 | ||||||
| TDMA0630 | 63 | 53 | 16 | TDMA1500 | 150 | 138 | 16 | TDMA4000 | 400 | 384 | 16 | ||||||
| TDMA0650 | 65 | 55 | 16 | TDMA1600 | 160 | 148 | 16 | TDMA4200 | 420 | 404 | 16 | ||||||
| TDMA0700 | 70 | 60 | 16 | TDMA1700 | 170 | 158 | 16 | TDMA4500 | 450 | 434 | 16 | ||||||
| TDMA0750 | 75 | 65 | 16 | TDMA1800 | 180 | 168 | 16 | TDMA4800 | 480 | 464 | 16 | ||||||
| TDMA0800 | 80 | 70 | 16 | TDMA1900 | 190 | 178 | 16 | TDMA5000 | 500 | 484 | 16 | ||||||
| TDMA0850 | 85 | 75 | 16 | TDMA2000 | 200 | 188 | 16 | TDMA5600 | 560 | 544 | 16 | ||||||
| TDMA0900 | 90 | 80 | 16 | TDMA2100 | 210 | 198 | 16 | TDMA6000 | 600 | 584 | 16 | ||||||
| TDMA1000 | 100 | 90 | 16 | TDMA2200 | 220 | 208 | 16 | TDMA6300 | 630 | 614 | 16 | ||||||
| TDMA1100 | 110 | 100 | 16 | TDMA2250 | 225 | 213 | 16 |
|
|
|
|
||||||
| Poznámka: Požadované špecifikácie nie sú v tejto tabuľke, ale môžu sa tiež vyrobiť. Kontaktujte nás. | |||||||||||||||||
| Inštalačné rozmery |
|
|
|
|
|
|
Dĺžka | |||||||
|
|
|
|
|
Rozsah priemeru valca | Dĺžka e≥ | |||||||||
|
|
|
|
|
|
<99 | 7 | ||||||||
| Priemer valca Dh8 | Priemer drážky dh9 | Šírka slotu L+0.2 | Výška tesnenia H |
|
100-199 | 10 | ||||||||
| <96 | D-16.8 | 8 | 7.5 |
|
||||||||||
| 96-190 | D-20 | 10 | 9.5 |
|
200-309 | 12 | ||||||||
| 191-380 | D-28 | 13 | 12.5 |
|
310-559 | 15 | ||||||||
| > 380 | D-36 | 20 | 19.5 |
|
> 599 | 18 | ||||||||
|
|
|
|
|
|
|
|
||||||||
| Objednávkové číslo | D H8 | D H9 | L+0.2 |
|
Objednávkové číslo | D H8 | D H9 | L+0.2 |
|
Objednávkové číslo | D H8 | D H9 | L+0.2 | |
| GGDA0400 | 40 | 23.2 | 8 | GGDA1050 | 105 | 85 | 10 | GGDA2500 | 250 | 222 | 13 | |||
| GGDA0450 | 45 | 28.2 | 8 | GGDA1100 | 110 | 90 | 10 | GGDA2800 | 280 | 252 | 13 | |||
| GGDA0500 | 50 | 33.2 | 8 | GGDA1150 | 115 | 95 | 10 | GGDA3000 | 300 | 272 | 13 | |||
| GGDA0550 | 55 | 38.2 | 8 | GGDA1200 | 120 | 100 | 10 | GGDA3200 | 320 | 292 | 13 | |||
| GGDA0560 | 56 | 39.2 | 8 | GGDA1250 | 125 | 105 | 10 | GGDA3500 | 350 | 322 | 13 | |||
| GGDA0600 | 60 | 43.2 | 8 | GGDA1300 | 130 | 110 | 10 | GGDA3800 | 380 | 352 | 13 | |||
| GGDA0630 | 63 | 46.2 | 8 | GGDA1350 | 135 | 115 | 10 | GGDA4000 | 400 | 364 | 20 | |||
| GGDA0650 | 65 | 48.2 | 8 | GGDA1400 | 140 | 120 | 10 | GGDA4200 | 420 | 384 | 20 | |||
| GGDA0700 | 70 | 53.2 | 8 | GGDA1500 | 150 | 130 | 10 | GGDA4500 | 450 | 414 | 20 | |||
| GGDA0750 | 75 | 58.2 | 8 | GGDA1600 | 160 | 140 | 10 | GGDA4800 | 480 | 444 | 20 | |||
| GGDA0800 | 80 | 63.2 | 8 | GGDA1700 | 170 | 150 | 10 | GGDA5000 | 500 | 464 | 20 | |||
| GGDA0850 | 85 | 68.2 | 8 | GGDA1800 | 180 | 160 | 10 | GGDA5600 | 560 | 524 | 20 | |||
| GGDA0900 | 90 | 73.2 | 8 | GGDA1900 | 190 | 170 | 10 | GGDA6000 | 600 | 564 | 20 | |||
| GGDA0950 | 95 | 78.2 | 8 | GGDA2000 | 200 | 172 | 13 | GGDA6300 | 630 | 594 | 20 | |||
| GGDA1000 | 100 | 80 | 10 | GGDA2200 | 220 | 192 | 13 |
|
|
|
|
|||
| Poznámka: Požadované špecifikácie nie sú v tejto tabuľke, ale môžu sa tiež vyrobiť. Kontaktujte nás. Maximálny dostupný produkt je 1600 mm. | ||||||||||||||
| Vytlačenie |
|
|
|
|
|
|
|
|
|
|
|
||
| Tlak MPA | Vytlačenie medzery Smax |
|
|
|
|||||||||
| Priemer valca D <60 mm | Priemer valca d> 60 mm |
|
|
|
|||||||||
| ≤5 | 0.4 | 0.5 |
|
|
|
||||||||
| ≤10 | 0.3 | 0.5 |
|
|
|
||||||||
| ≤20 | 0.2 | 0.3 |
|
|
|
||||||||
| ≤30 | 0.15 | 0.2 |
|
|
|
||||||||
| ≤ 40 | 0.1 | 0.15 |
|
|
|
||||||||
| Graf | |||||||||||||
| Číslo produktu | D | d | H | L | D1 |
|
Číslo produktu | D | d | H | L | D1 | |
| RCUP30*15*9.5 | 30 | 15 | 9.5 | 10.5 | 18 | RCUP40*32*5.5 | 40 | 32 | 5.5 | 6.5 | 35 | ||
| RCUP30*15*10 | 30 | 15 | 10 | 11 | 19 | RCUP40*32*8 | 40 | 32 | 8 | 9 | 35 | ||
| RCUP30*20*8 | 30 | 20 | 8 | 9 | 24 | RCUP40*33*8 | 40 | 33 | 8 | 9 | 36 | ||
| RCUP30*22*6.5 | 30 | 22 | 6.5 | 7 | 25 | RCUP45*30*10 | 45 | 30 | 10 | 11 | 35 | ||
| RCUP35*20*10 | 35 | 20 | 10 | 11 | 25 | RCUP50*30*12 | 50 | 30 | 12 | 13 | 35 | ||
| RCUP35*25*8 | 35 | 25 | 8 | 9 | 29 | RCUP50*32*10 | 50 | 32 | 10 | 11 | 35 | ||
| RCUP35*27*10 | 35 | 27 | 10 | 11 | 30 | RCUP50*35*8.5 | 50 | 35 | 8.5 | 9.5 | 40 | ||
| RCUP40*25*10 | 40 | 25 | 10 | 11 | 30 | RCUP50*35*10 | 50 | 35 | 10 | 11 | 40 | ||
| RCUP40*30*6.5 | 40 | 30 | 6.5 | 7.5 | 34 | RCUP50*40*5 | 50 | 40 | 5 | 5.5 | 44 | ||
| RCUP40*30*10 | 40 | 30 | 10 | 11 | 34 | RCUP50*40*8 | 50 | 40 | 8 | 9 | 43 | ||
| Číslo produktu | D | d | H | L1 | L2 | T |
|
Číslo produktu | D | d | H | L1 | L2 | T |
| Yxd11*5*8 | 11 | 5 | 8 | 9 | 10.5 | 1.5 | Yxd55*47*10 | 55 | 47 | 10 | 12 | 13.5 | 1.5 | |
| Yxd12*6*8 | 12 | 6 | 8 | 9 | 10.5 | 1.5 | Yxd56 * 48 * 10 | 56 | 48 | 10 | 12 | 13.5 | 1.5 | |
| Yxd14*8*8 | 14 | 8 | 8 | 9 | 10.5 | 1.5 | Yxd60 * 48 * 14 | 60 | 48 | 14 | 16 | 18 | 2 | |
| Yxd16*10*8 | 16 | 10 | 8 | 9 | 10.5 | 1.5 | Yxd63*51*14 | 63 | 51 | 14 | 16 | 18 | 2 | |
| Yxd18*12*8 | 18 | 12 | 8 | 9 | 10.5 | 1.5 | Yxd65 * 53 * 14 | 65 | 53 | 14 | 16 | 18 | 2 | |
| Yxd20*14*8 | 20 | 14 | 8 | 9 | 10.5 | 1.5 | Yxd70*58*14 | 70 | 58 | 14 | 16 | 18 | 2 | |
| Yxd22*16*8 | 22 | 16 | 8 | 9 | 10.5 | 1.5 | Yxd75*63*14 | 75 | 63 | 14 | 16 | 18 | 2 | |
| Yxd24*18*8 | 24 | 18 | 8 | 9 | 10.5 | 1.5 | Yxd78*66*14 | 78 | 66 | 14 | 16 | 18 | 2 | |
| Yxd25*19*8 | 25 | 19 | 8 | 9 | 10.5 | 1.5 | Yxd80 * 68 * 14 | 80 | 68 | 14 | 16 | 18 | 2 | |
| YXD28*22*8 | 28 | 22 | 8 | 9 | 10.5 | 1.5 | Yxd85 * 73 * 14 | 85 | 73 | 14 | 16 | 18 | 2 | |
| Yxd30*22*10 | 30 | 22 | 10 | 12 | 13.5 | 1.5 | Yxd90*78*14 | 90 | 78 | 14 | 16 | 18 | 2 | |
| Yxd32*24*10 | 32 | 24 | 10 | 12 | 13.5 | 1.5 | Yxd95*83*14 | 95 | 83 | 14 | 16 | 18 | 2 | |
| Yxd35*27*10 | 35 | 27 | 10 | 12 | 13.5 | 1.5 | YXD100*88*14 | 100 | 88 | 14 | 16 | 18 | 2 |



























































































































Adresa
No.1 Ruichen Road, Dongliuting Industrial Park, Chengyang District, Qingdao City, Shandong Province, Čína
Tel