Zaveriaci krúžok sa používa v spojení s O-krúžkom alebo hviezdnym krúžkom, aby sa zabránilo stlačeniu tesniaceho krúžku do medzery na nízkej tlakovej strane pod tlakom. Keď sa tlak neustále zvyšuje, tesnenie je poškodené „vytlačením“ a nakoniec sa nedokáže utesniť. Ak sa použije zadržiavací krúžok, dá sa zabrániť „vytlačeniu“ tesniaceho krúžku. Preto je drsný krúžok doplnkom k tesniacim krúžkom. Nie je to samotné tesnenie, ale zvyšuje pracovný rozsah tlaku tesniaceho krúžku.
Ponučný krúžok sa používa v spojení s O-krúžkom, aby sa zabránilo „extrúzii“, účinne chráni O-krúžok, zvyšuje jeho životnosť a umožňuje väčšiu medzeru v tesnení, čím sa znižuje náklady na spracovanie.
Funkcie a aplikácie produktu:
Zadržiavanie kruhového tvaru a typu štruktúry
Technické údaje
Pracovný tlak: Statické tesnenie môže dosiahnuť približne 200 MPa (v závislosti od materiálu a typu tesnenia oporného kruhu), recipročné tesnenie môže dosiahnuť asi 40 mPa. Rotácia Swing/Slow Speed môže dosiahnuť asi 15 mPa.
Rýchlosť: Recipročné a rotácia môže dosiahnuť asi 2 m/s (v závislosti od materiálu).
Objednávanie štandardov
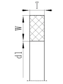
(1) Zadržané krúžky série T01 sa skladajú z vnútorného priemeru D1, šírky W a hrúbky T.
Príklad: T01-00356 D1: 3,56*W: 1,35*T: 1,23
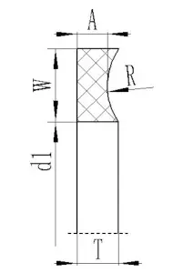
(2) Zadržané krúžky série T02 sú zložené z vnútorného priemeru D1, šírky W a hrúbky A a T.
Príklad: T02-027 D1: 33,78*W: 1,35*A: 1,14*T: 1,24



Adresa
No.1 Ruichen Road, Dongliuting Industrial Park, Chengyang District, Qingdao City, Shandong Province, Čína
Tel