Medzi rotačnými pružinovými tesneniami sú hlavne dva typy: RC2055 a RC2056. Ruichen Seals študuje vývoj a výrobu výrobkov tesnení už mnoho rokov. Podľa rôznych situácií a rôznych potrieb zdokonalil podrobnejšie návrhy.
RC2055 je rotačné tesnenie panvice, RC2055-B je rotačné tesnenie ozubených zubov a RC2055-C je kombinované tesnenie v tvare y. Drážky týchto troch sú vymeniteľné. Sú to vysoko funkčné tesnenia s jednosmerným tlakom aplikovaným na rotujúce hriadele. Medzi nimi je rotačné tesnenie rotačnej panvice RC2055 zložené z prameňov z nehrdzavejúcej ocele a vysoko funkčných plastov. Pri použití RC2055-B a RC2055-C je potrebné primerane zvoliť zodpovedajúce materiály elastoméru.
RC2056 je rotačné tesnenie panvice a RC2056-B je rotačné kombinované tesnenie v tvare Y. Drážky sa môžu tiež zamieňať. Je tiež vhodný na použitie v rotujúcich hriadeľoch. Medzi nimi je rotačné tesnenie rotačnej panvice RC2056 zložené z prameňov z nehrdzavejúcej ocele a vysoko funkčných plastov. Pri použití RC2056-B a je potrebné primerane zvoliť zodpovedajúce materiály elastoméru.
Funkcie a aplikácie produktu:
Vlastnosti produktu:
Vysoký výkon: Springy z nehrdzavejúcej ocele a vysoko funkčné plasty sa kombinujú, aby sa zabezpečilo vynikajúci tesniaci výkon a trvanlivosť.
Zamerannosť: Dizajn drážok produktov v sérii je rovnaký, čo umožňuje zameniteľnosť a flexibilné prispôsobenie sa rôznym pracovným podmienkam.
Všeobecne použiteľné: Vhodné na jednosmerné tlakové tesnenie rotujúcich hriadeľov, aby sa uspokojili rôzne priemyselné potreby.
Voliteľné elastoméry: RC2055-B, RC2055-C a RC2056-B podporujú výber zodpovedajúcich elastomérových materiálov podľa pracovných podmienok na zlepšenie adaptability.
Aplikačné scenáre:
Jednosmerné tlakové tesnenie rotujúcich hriadeľov je vhodné pre priemyselné vybavenie, strojárske stroje, hydraulické systémy atď.
Prípady, keď sa vyžaduje vysoko funkčné tesnenie, ako sú petrochemické látky, energetické vybavenie, ťažké stroje atď.
Technické výhody:
Springy z nehrdzavejúcej ocele poskytujú stabilnú radiálnu silu na zabezpečenie dlhodobého tesniaceho účinku.
Kombinácia vysoko funkčných plastov a elastomérových materiálov je vhodná pre vysokorýchlostné a vysokorýchlostné pracovné podmienky.
Zameniteľný dizajn drážky zjednodušuje inštaláciu a údržbu a znižuje náklady na použitie.
Návrhy na použitie:
Vyberte príslušný model tesnenia a materiál elastoméru podľa konkrétnych pracovných podmienok.
Uistite sa, že počas inštalácie je drážka čistá, aby ste predišli poškodeniu tesnenia.
RC2055
Uplatniteľné pracovné podmienky (limitné hodnoty by sa nemali objavovať súčasne)
| Tlak (MPA) | Teplota (℃) | Rýchlosť (m/s) | Médium | |||
| ≤35 | RC2055 | RC2055-B/C | RC2055 | RC2055-B | RC2055-C | Takmer všetky tekuté a plynové médiá |
| -200 ~+250 | -35 ~+250 | <2 m/s | <6 m/s | <2 m/s | ||
Výber materiálu
1. Zodpovedajúce materiály O-krúžku je možné zvoliť: RO1 Nitril Gumber (NBR), RO2 Fluororubber (FKM) atď.
2. Materiály tesnenia: PTFE1, PTFE2, PTFE3, PTFE4, UPE, PK1, PK2 atď.
3. Spring z nehrdzavejúcej ocele: pružina v tvare V.
Príklad
RC2055- 40-PTFE4+V Priemer 40, Materiál tesnenia je PTFE4, pružina z nehrdzavejúcej ocele je pružina v tvare V
RC2055-B-40-PTFE4+R02 Priemer hriadeľa je 40, tesniaci krúžok je PTFE4, zodpovedajúci O-krúžku je fluórubber
RC2055-C-40-PTFE4+R02 Priemer hriadeľa je 40, tesniaci krúžok je PTFE4, zodpovedajúci O-krúžku je fluórbber
Tabuľka parametrov špecifikácie (všetky špecifikácie v rozsahu parametrov sú k dispozícii)
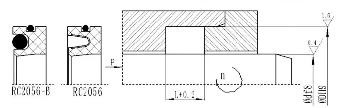
| Priemer prútov D F8 | Priemer drážky Dh9 | Priemer Groove D1H10 | Hĺbka okraja L1 | Šírka drážky L | Dovoz K | Odbavenie S max. | Dĺžka | r maximálny | |
| 10 MPA | 20MPA | ||||||||
| 5 ~ 19,9 | D+5 | D+9 | 0,85 -0,1 | 3.6 | 0.3 | 0.15 | 0.1 | Zmin = 0,8 l | 0.8 |
| 20 ~ 39,9 | D+7 | D+12,5 | 1,35 -0,15 | 4.8 | 0.4 | 0.20 | 0.15 | 1.1 | |
| 40 ~ 400,9 | D+10,5 | D+17,5 | 1,8 -0,2 | 7.1 | 0.5 | 0.25 | 0.20 | 1.4 | |
| 401 ~ 1500 | D+14 | D+22 | 2,8 -0.2 | 9.5 | 0.5 | 0.30 | 0.25 | 1.6 | |
Poznámka: Odporúča sa, aby povrchová tvrdosť rotujúceho hriadeľa bola HRC ≥ 58.
RC2056
Uplatniteľné pracovné podmienky (limitné hodnoty by sa nemali objavovať súčasne)
| Tlak (MPA) | Teplota (℃) | Rýchlosť (m/s) | Médium | ||
| ≤2 | RC2056 | RC2056-B | RC2056 | RC2056-B | Takmer všetky tekuté a plynové médiá |
| -200 ~+250 | -35 ~+250 | <14m/s | <6 m/s | ||
Výber materiálu
1. Zodpovedajúce materiály O-krúžku je možné zvoliť: RO1 Nitril Gumber (NBR), RO2 Fluororubber (FKM) atď.
2. Materiály tesnenia: PTFE1, PTFE2, PTFE3, PTFE4, UPE, PK1, PK2, atď. 3. Spring z nehrdzavejúcej ocele: pružina v tvare V.
Príklad
RC2056-40*62*8-PTFE4+V D*D*L, Materiál tesnenia je PTFE4 a pružina z nehrdzavejúcej ocele je pružina v tvare V RC2056-B-40*62*8-PTFE4+R02 D*D*L, Materiál tesnenia je PTFE4 a zodpovedajúci O-krúžok je fluórubber



















Adresa
No.1 Ruichen Road, Dongliuting Industrial Park, Chengyang District, Qingdao City, Shandong Province, Čína
Tel